
Die Conductix-Wampfler C-Schiene ist das tragende Profil für C-Schienen-Schleppleitungssysteme und führt Schleppkabel in Fahrtrichtung des bewegten Verbrauchers, z. B. an Krananlagen. In der Schiene laufen Kabelwagen leichtgängig und ermöglichen eine zuverlässige Energie- und Steuerleitungsführung.
Die Conductix-Wampfler C-Schiene ist das tragende Profil für C-Schienen-Schleppleitungssysteme und führt Schleppkabel in Fahrtrichtung des bewegten Verbrauchers, z. B. an Krananlagen. In der Schiene laufen Kabelwagen leichtgängig und ermöglichen eine zuverlässige Energie- und Steuerleitungsführung.
Für die C-Schiene von Wampfler gibt es zwei Programme. Das Programm 230 und das Programm 240. Beide Systeme unterscheiden sich in den Abmessungen und Tragkräften.
| Schienen-Abmessungen | : | 30x32x2 mm |
| Max. Tragfähigkeit/Wagen 1) | : | 20 kg |
| Max. Fahrgeschwindigkeit 1) | : | 80 m/min |
| Max. Systemlänge | : | 80 m |
| Schienen-Abmessungen | : | 40x40x2,5 mm |
| Max. Tragfähigkeit/Wagen 1) | : | 32 kg |
| Max. Fahrgeschwindigkeit 1) | : | 100 m/min |
| Max. Systemlänge | : | 120 m |
Das C-Schienen Profil von Conductix-Wampfler ist in den unterschiedlichen Größen erhältlich. Vom 0230-iger Standard-Programm mit einem Querschnitt von 30x32 mm bis hin zum 0260-iger Programm mit einem Querschnitt von 80x80 mm. Mit zunehmenden Abmessungen sind mit ihnen auch größere Aufhängeabstände, längere Systeme, höhere Tragfähigkeiten und größere Fahrgeschwindigkeiten der Leitungswagen möglich. C-Schienen sind in aller Regel verzinkt. Die Programme 0230 und 0240 sind aber auch in blank oder Edelstahl erhältlich. C-Schienen werden für die Aufnahme von Leitungswagen mit der Öffnung nach unten montiert. Die Leitungswagen werden seitlich ins Profil gesteckt und mit einer Endklemme gesichert.
Ihre Dimensionierung richtet sich nach der Anzahl der Kabel, die in einer Schleppleitung verbaut werden. Meist handelt es sich um ein einzelnes Kabel, das zur Versorgung eines Verbrauchers am Kranträger benötigt wird. Typische Anwendungen sind Standardkrane, Brückenkrane, Hebezeuge, Transportanlagen, Umwelttechnik und Sondermaschinenbau. Lange Abstände zwischen den Aufhängepunkten am Kranträger können eventuell eine steifere und größere C-Profilschiene erforderlich machen.
Die Länge des Systems wird von mehreren Faktoren beeinflusst. Zunächst gibt der Verfahrweg des Verbrauchers die grobe Länge der C-Schiene vor. Hinzu kommt der Bahnhof, indem die Leitungswagen geparkt werden. Mit zunehmenden Systemlängen steigt die Zahl der benötigten Leitungswagen. Diese müssen hinter dem Verbraucher am Anfang seines Verfahrweges Platz finden. Die Länge des Bahnhofes richtet sich nach der Anzahl der verwendeten Leitungswagen. Die Anzahl der Leitungswagen in einer Schleppleitung ist vom Verfahrweg und dem Leitungsdurchhang abhängig.
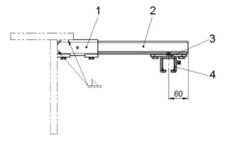
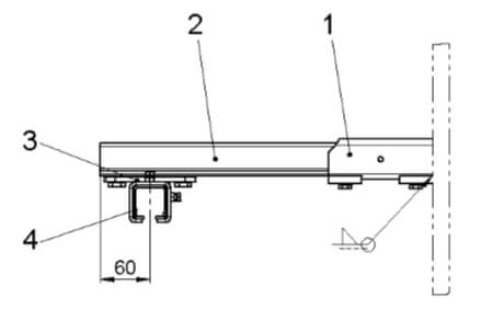
| Pos. | Benennung |
| 1 | Spannarm |
| 2 | Spannpratze |
| 3 | Schienenhalter |
| 4 | C-Schiene |
|
|
C Schienen werden mit Schienenhaltern an Wänden, Decken oder Trägern montiert. Die Schienenhalter lassen sich vor ihrer Montage auf die C-Schiene aufschieben und zusammen mit der C-Schiene an der Aufhängung befestigen. Alternativ können Sie die Halter auch erst an die Konstruktion befestigen und dann die Wampfler C-Schienen einschieben. Danach fixiert man die C Schiene mit der Feststellschraube am Schienenhalter.
Im ersten und letzten Schienenhalter muss die Wampfler C-Schiene gegen Verschieben in Längsrichtung gesichert werden. Dazu werden in den Steg der Schiene Löcher gebohrt, in welche die Feststellschrauben hineingedreht werden. Darauf achten, dass die Schraubenenden auf der Innenseite der Schiene nicht überstehen.
Um C-Schienen miteinander zu verbinden, verwendet man Schienenverbinder. Dadurch lassen sich beliebig lange C-Schienen Bahnen zusammenstellen. Schieben Sie den Schienenverbinder an der Stoßstelle auf das C-Schienenstück bis zur Hälfte auf und klemmen es fest. Durch die Sichtbohrung können Sie die korrekte Stellung kontrollieren. Anschließend schieben Sie das zweite C-Schienenstück ein und klemmen es Spaltfrei fest. Achten Sie darauf, dass die Feststellschraube gleichmäßig angezogen, damit kein Schienenversatz entsteht.
Die Conductix-Wampfler C-Schiene ist das tragende Profil für C-Schienen-Schleppleitungssysteme und wird insbesondere bei Schleppleitungen an Krananlagen eingesetzt. Sie wird parallel zum Kranträger montiert und führt das Schleppkabel in Fahrtrichtung des bewegten Verbrauchers.
In der C-Schiene laufen die Kabelwagen leichtgängig und sorgen für eine zuverlässige Energie- und Steuerleitungsführung. Die Schiene ist in definierten Längen, Materialdicken und Werkstoffen/Oberflächen verfügbar; über Schienenverbinder lässt sich die Systemlänge erweitern.
Die C-Schiene ist für Anwendungen ausgelegt, in denen Leitungen und Kabel an einem verfahrenden Verbraucher geordnet mitgeführt werden müssen. Typische Einsatzfelder sind:
Die C-Schienen sind in den Programmen 230 und 240 verfügbar. Beide Programme unterscheiden sich in der für die Anlage passenden Auslegung (z. B. zulässige Tragfähigkeit pro Wagen, Fahrgeschwindigkeit und maximale Systemlänge).
Zusätzlich sind Varianten über Länge, Materialdicke und Werkstoff/Oberfläche wählbar, z. B. schwarz unbeschichtet (zum Verschweißen), feuerverzinkt (Witterungsschutz) oder Edelstahl (korrosionsbeständiger Einsatz). Für längere Fahrwege kann die Schiene mit Schienenverbindern verlängert werden.
| Programm | Max. Tragfähigkeit/Wagen | Max. Fahrgeschwindigkeit | Max. Systemlänge | Hinweis |
|---|---|---|---|---|
| 230 | 20 kg | 80 m/min | 80 m | abhängig von Rollengröße / Rollenmaterial |
| 240 | 32 kg | 100 m/min | 120 m | abhängig von Rollengröße / Rollenmaterial |
| Programm | Werkstoff/Oberfläche | Materialdicke | Länge | Artikel-Nr. |
|---|---|---|---|---|
| 230 | Stahl, verzinkt | 2.0 mm | 6.0 m | 023200-6 |
| 230 | Stahl, verzinkt | 2.0 mm | 4.0 m | 023200-4 |
| 230 | Stahl, verzinkt | 1.5 mm | 6.0 m | 023201-6 |
| 230 | Stahl, verzinkt | 1.5 mm | 4.0 m | 023201-4 |
| 230 | Edelstahl V4A | 2.0 mm | 6.0 m | 023400-6 |
| 230 | Edelstahl V4A | 2.0 mm | 4.0 m | 023400-4 |
| 240 | Stahl, verzinkt | 2.5 mm | 6.0 m | 024100-6 |
| 240 | Stahl, verzinkt | 2.5 mm | 4.0 m | 024100-4 |
| 240 | Edelstahl V4A | 2.5 mm | 6.0 m | 024109-6 |
| 240 | Edelstahl V4A | 2.5 mm | 4.0 m | 024109-4 |
Die C-Schiene wird parallel zur Fahrbewegung montiert und über passende Befestigungskomponenten an Wand, Decke oder Trägerkonstruktionen fixiert. Für die typische Trägermontage werden Spannarme in gleichmäßigen Abständen gesetzt, über Spannpratzen am Träger geklemmt und anschließend mit Schienenhaltern die Schiene befestigt.
Für ein vollständiges C-Schienen-Schleppleitungssystem werden – je nach Anwendung – folgende Komponenten praxisrelevant kombiniert:
Ausführungen für Programme 230 und 240.
Zur TypenseiteSystemprinzip und Komponenten im Überblick.
Zur SystemübersichtKompakte Übersicht zu Längen und Ausführungen.
PDF öffnenBefestigung der C-Schiene an Wand, Decke oder Träger.
Zur TypenseiteVerbindung und Verlängerung von Schienenabschnitten.
Zur TypenseiteTrägeranbindung zur Montage von C-Schienen-Systemen.
Zur TypenseiteKlemmverbindung am Trägerflansch ohne Bohren/Schweißen.
Zur TypenseiteMechanische Endbegrenzung zum Schutz von Endkomponenten.
Zur TypenseiteSystemabschluss und Fixpunkt im C-Schienen-System.
Zur TypenseiteWagen zur Leitungsführung in Programmen 230/240.
Zur TypenseiteMitnehmerwagen zur Kopplung und Führung der Wagenkette.
Zur TypenseiteAnbindung des Mitnehmers an den bewegten Verbraucher.
Zur TypenseiteKomplett-Set für den schnellen Systemaufbau.
Zur Typenseite
