
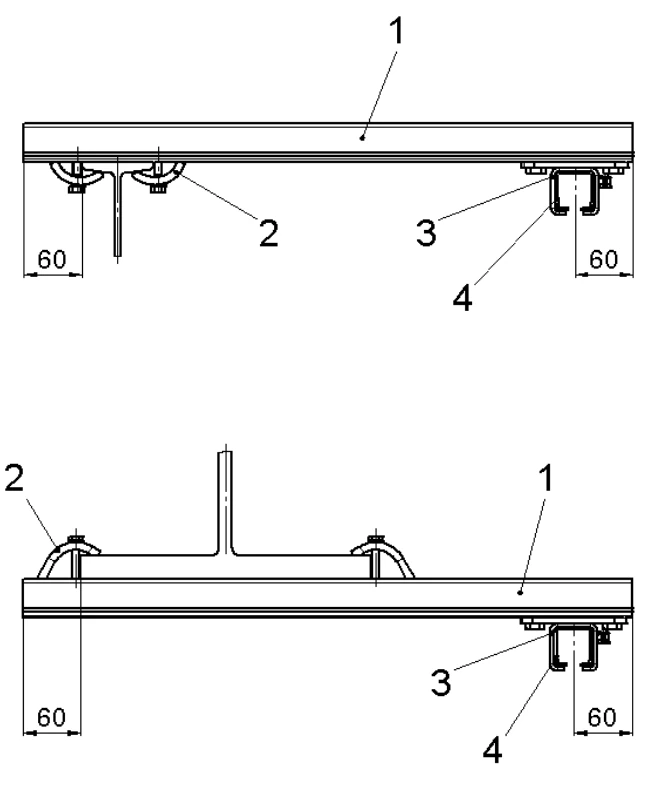
Werkstoff: Stahl, verzinkt
Die Spannarme werden mittels Spannpratzen zuerst an einem Stahlträger befestigt. Hierbei werden die Spannpratzen nach ihrer Tragfähigkeit und ihrem Spannbereich ausgewählt. Danach können die Schienenhalter in die Spannarme geschoben und verschraubt werden.
Die Anordnung des Spannarms auf dem Doppel-T-Träger ist variabel. Es können wahlweise mehrere C-Schienen an einem Spannarm untergebracht werden.
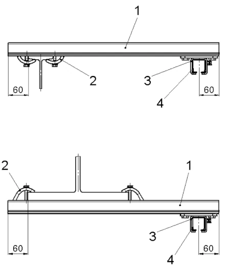
Werkstoff: Stahl, verzinkt
Die Spannarme werden mittels Spannpratzen zuerst an einem Stahlträger befestigt. Hierbei werden die Spannpratzen nach ihrer Tragfähigkeit und ihrem Spannbereich ausgewählt. Danach können die Schienenhalter in die Spannarme geschoben und verschraubt werden.
Die Anordnung des Spannarms auf dem Doppel-T-Träger ist variabel. Es können wahlweise mehrere C-Schienen an einem Spannarm untergebracht werden.
Die Spannpratze von Conductix-Wampfler ist ein robustes Befestigungselement zur sicheren Montage von Spannarmen an Stahlträgern, insbesondere an Doppel-T-Trägern (I-Trägern). In Kombination mit C-Schienen und Leitungswagen bildet sie die Basis vieler Schleppleitungs- und Leitungswagensysteme, wie sie zur Elektrifizierung von Hallenkranen, Hebezeugen, Transportanlagen und Sondermaschinen eingesetzt werden.
Die Spannpratzen werden in den Conductix-Wampfler Programmen 0230 und 0240 verwendet und sind so ausgelegt, dass sie Spannarme mit unterschiedlichen Spanndicken zuverlässig am Trägerprofil klemmen – ganz ohne Bohren oder Schweißen am Kranträger. Damit ermöglichen sie eine flexible, schnell montierbare und belastbare Aufhängung der C-Schienen.
Die Wampfler-Spannpratzen bestehen aus einem massiven Stahlkörper, der über eine Schraubverbindung am Trägerflansch angezogen wird und so den Spannarm kraftschlüssig klemmt. In den Montagebeispielen für C-Schienen-Systeme ist die Spannpratze als Position 2 dargestellt und verbindet den Spannarm (Pos. 1) mit dem Doppel-T-Träger, an dessen Unter- oder Obergurt die C-Schiene montiert wird.
Typischerweise wird die Spannpratze so angeordnet, dass sich der Spannarm seitlich oder unter dem Träger erstreckt. Anschließend können über Schienenhalter (Pos. 3) eine oder mehrere C-Schienen (Pos. 4) unter dem Spannarm befestigt werden. Die Spannpratze überträgt somit sämtliche Lasten aus C-Schiene, Leitungswagen und Leitungen sicher in die Stahlkonstruktion.
Conductix-Wampfler bietet Spannpratzen in verschiedenen Spanndicken-Bereichen an, um unterschiedliche Träger- und Flanschstärken abzudecken. Über den Fachhandel (z. B. TOMANRO) sind u. a. folgende Varianten erhältlich:
Alle Ausführungen sind aus Stahl, verzinkt oder alternativ in Edelstahl V4A erhältlich und besitzen passend zum System die erforderlichen Gewinde und Klemmbereiche, um die Spannarme sicher am Träger zu halten.
Standard-Spannpratzen werden aus verzinktem Stahl gefertigt und bieten einen zuverlässigen Korrosionsschutz in normalen Industrieumgebungen. Für Anwendungen in feuchter oder aggressiver Atmosphäre (z. B. Chemie, Außenbereich, Lebensmittel- oder Umwelttechnik) stehen Varianten aus Edelstahl V4A zur Verfügung, die eine besonders hohe Korrosionsbeständigkeit bieten.
Die Spannpratze ist eine zentrale Komponente bei der Montage von C-Schienen-Leitungswagensystemen nach Conductix-Wampfler Programm 0230 und 0240. C-Schienen werden parallel zum Kranträger montiert und führen die Schleppkabel in Fahrtrichtung des Hubwerks; die Leitungswagen laufen leichtgängig in der Schiene und gewährleisten eine zuverlässige Energieversorgung von Kranen und Hebezeugen.
In der Praxis erfolgt die Montage in mehreren Schritten:
Durch diese modulare Bauweise lassen sich C-Schienen-Systeme ohne Schweißarbeiten an vorhandenen Kranbahnen, Decken- oder Stahlkonstruktionen nachrüsten oder erweitern.
Die Spannpratze von Conductix-Wampfler ist ein unverzichtbares Element für die Montage von C-Schienen- Leitungswagensystemen an Stahlträgern. Sie verbindet Montagefreundlichkeit, Flexibilität und Stabilität und ermöglicht die sichere Befestigung von Spannarmen ohne aufwendige Schweiß- oder Bohrarbeiten.
Durch verschiedene Spanndicken-Bereiche, die Wahl zwischen verzinktem Stahl und Edelstahl V4A sowie die vollständige Systemkompatibilität mit den Conductix-Wampfler C-Schienenprogrammen 0230 und 0240 bietet die Spannpratze eine wirtschaftliche und langlebige Lösung für die Energiezuführung in Kran- und Förderanlagen.
