
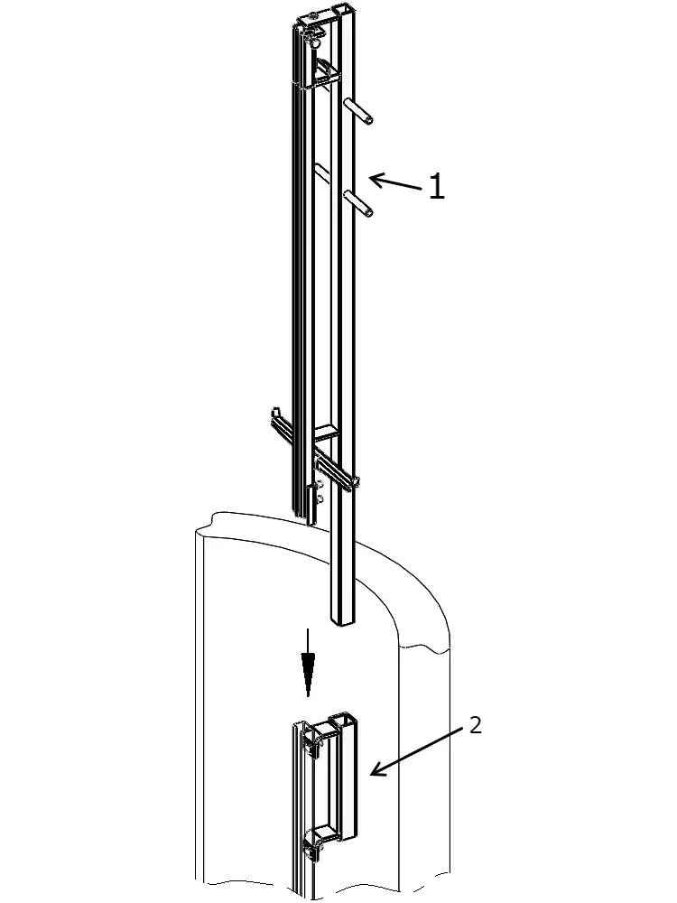
Das FABA A12 Steigschutzsystem bietet eine Vielzahl von Zubehörteilen, mit denen das Arbeiten in beengten Bereichen wie Schächten oder abgedeckten Steigwegen sicher und effizient durchgeführt werden kann.
Es ermöglicht auch bei beengten Zugängen ein ergonomisches und sicheres Arbeiten. So ermöglicht die tragbare Einstiegshilfe (1) dem Benutzer ein Sichern bereits oberhalb des Zugangs, noch bevor er den Bereich betritt. Nach dem Abschluss der Arbeiten kann sie problemlos wieder entfernt werden.
Die Kupplung für die Einstiegshilfe (2) sorgt für eine sichere Befestigung am Steigschutzsystem A12 und ist essenziell für den sicheren Zugang in beengte Räume. Zusammen mit der Edelstahl Halterung bietet das System maximale Sicherheit und Stabilität bei der Nutzung in Schächten oder abgedeckten Steigwegen.
Das FABA A12 Steigschutzsystem bietet eine Vielzahl von Zubehörteilen, mit denen das Arbeiten in beengten Bereichen wie Schächten oder abgedeckten Steigwegen sicher und effizient durchgeführt werden kann.
Es ermöglicht auch bei beengten Zugängen ein ergonomisches und sicheres Arbeiten. So ermöglicht die tragbare Einstiegshilfe (1) dem Benutzer ein Sichern bereits oberhalb des Zugangs, noch bevor er den Bereich betritt. Nach dem Abschluss der Arbeiten kann sie problemlos wieder entfernt werden.
Die Kupplung für die Einstiegshilfe (2) sorgt für eine sichere Befestigung am Steigschutzsystem A12 und ist essenziell für den sicheren Zugang in beengte Räume. Zusammen mit der Edelstahl Halterung bietet das System maximale Sicherheit und Stabilität bei der Nutzung in Schächten oder abgedeckten Steigwegen.
