
Die Einstiegshilfe erleichtert den Einstieg in Schächte und Kanäle. Der Benutzer hebt den Deckel vom Schacht ab, steckt das tragbare Schienenteil in die vorhandene Schiene, sichert sich mit seinem Läufer in der Schiene und kann aus dem Stand auf die Leiter treten.
Der Einstieg ist sicher und ergonomisch.
Die Einstiegshilfe erleichtert den Einstieg in Schächte und Kanäle. Der Benutzer hebt den Deckel vom Schacht ab, steckt das tragbare Schienenteil in die vorhandene Schiene, sichert sich mit seinem Läufer in der Schiene und kann aus dem Stand auf die Leiter treten.
Der Einstieg ist sicher und ergonomisch.
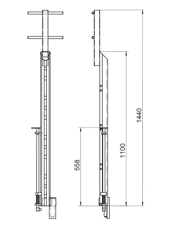
Speziell entwickelt für beengte Zugänge wie Schächte oder abgedeckte Steigwege mit dem FABA Steigschutzsystem A11. Die Einstiegshilfe ermöglicht es, ergonomisch und sicher enge Bereiche zu betreten.
Sie wird einfach auf die bestehende Steigschutzeinrichtung aufgesetzt und nach Abschluss der Arbeiten wieder entfernt. Dadurch kann sich der Benutzer sicher halten, während er noch oberhalb der Zugangsöffnung steht.
Dieses System ist nur in Verbindung mit einer stationär montierten Kupplung oder der A11 Steckhülse verwendbar.
