
Die Tractel Vierkantrohr-Halterung Typ I ist eine Systemhalterung zur stabilen Befestigung von Komponenten des FABA A11-Steigschutzsystems an Beton- oder Stahlkonstruktionen. Der maximale Halterungsabstand beträgt 2000 mm; für Stahlbeton ist mindestens C20/25 angegeben und es sind nur bauaufsichtlich zugelassene Dübel zu verwenden.
Die Tractel Vierkantrohr-Halterung Typ I ist eine Systemhalterung zur stabilen Befestigung von Komponenten des FABA A11-Steigschutzsystems an Beton- oder Stahlkonstruktionen. Der maximale Halterungsabstand beträgt 2000 mm; für Stahlbeton ist mindestens C20/25 angegeben und es sind nur bauaufsichtlich zugelassene Dübel zu verwenden.
Die Vierkantrohr-Halterung Typ I von Tractel ist eine Systemhalterung zur stabilen Befestigung der FABA Steigleiter A11 bzw. zugehöriger Komponenten an Beton- oder Stahlkonstruktionen.
Sie wird eingesetzt, wenn der Steigweg mit definiertem Abstand am Bauwerk geführt werden soll und die Befestigungspunkte in einem geregelten Raster ausgeführt werden müssen (max. Halterungsabstand 2000 mm).
Die Vierkantrohr-Halterung Typ I ist laut Typenübersicht in verzinktem Stahl oder Edelstahl verfügbar.
Die gezeigte Ausführung ist mit der Norm EN 353-1 angegeben (Systemkomponente im geführten Steigschutz/Absturzsicherungssystem).
| Merkmal | Angabe |
|---|---|
| Produkt | Vierkantrohr-Halterung Typ I |
| Marke | Tractel |
| System | A11, feuerverzinkt |
| Werkstoff | Stahl, feuerverzinkt |
| Norm | EN 353-1 |
| Gewicht | ca. 2.2 kg |
| Artikel-Nr. | 502208 |
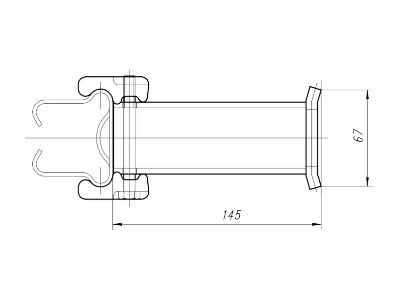
| Montagebohrung | Breite / Durchmesser = 22x40 mm |
| Max. Halterungsabstand | 2000 mm |
| Untergrund-Anforderung | Stahlbeton mind. C20/25 |
| Montageflächen | gerade oder runde Flächen |
| Befestigung | nur bauaufsichtlich zugelassene Dübel verwenden |
Kompakte Übersicht der Systemausführungen (A11, feuerverzinkt / A11, Edelstahl).
https://www.tomanro.de/4991-Tractel_Vierkantrohr_Halterung_Typ_I-TypenAusführung mit Montagebohrung 22x40 mm und Systemangaben.
https://www.tomanro.de/69877-Tractel_Vierkantrohr_Halterung_Typ_I_verzinkt__B_Drm22x40mm-ProdukteSchienenkomponente für das FABA A11 Steigschutzsystem.
https://www.tomanro.de/4988-Tractel_Steigschutzschiene-TypenVerbinderlösungen für Schienenstöße im System A11.
https://www.tomanro.de/4989-Tractel_A11_Stossverbinder-TypenMitlaufendes Auffanggerät für die Nutzung an A11-Schiene/Leiter.
https://www.tomanro.de/4983-Tractel_Fangwagen_FABA_Klassik-TypenLeitersegmente und Systemvarianten für feste, vertikale Zugänge.
https://www.tomanro.de/4984-Tractel_A11_Steigschutzleiter-TypenKomponente für definierte Ein-/Ausstiegsstellen im A11-Steigweg.
https://www.tomanro.de/5008-Tractel_Drehbarer_Ein__und_Ausstieg-Typen
