
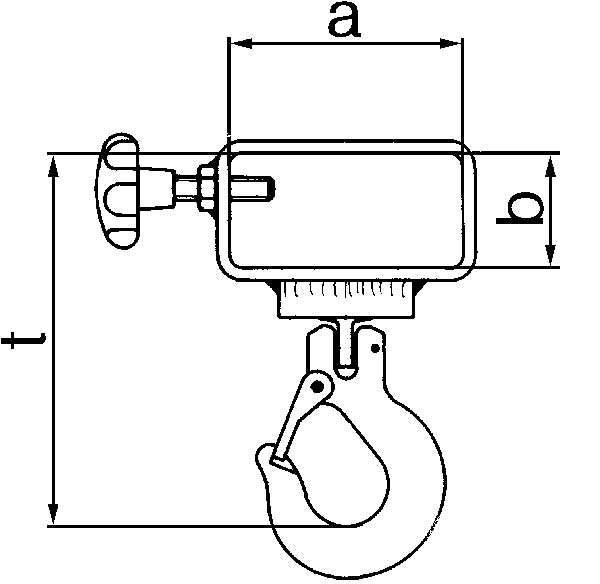
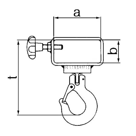
Der JDT Aufsteckschuh GS ist ein kompaktes Stapler-Anbaugerät, das auf einen Gabelzinken aufgeschoben und mit einer Sicherheitsspindel gegen Verrutschen geklemmt wird. Ein Wirbelhaken mit Sicherheitshaken ermöglicht das kontrollierte Anschlagen und Ausrichten der Last, ausgeführt in Güteklasse 10 (ENORM). Je nach Ausführung unterscheiden sich Tragfähigkeit und Einfahrtaschen-Maße, damit der GS zur Zinkengeometrie und zum Lastfall passt.
Der JDT Aufsteckschuh GS ist ein kompaktes Stapler-Anbaugerät, das auf einen Gabelzinken aufgeschoben und mit einer Sicherheitsspindel gegen Verrutschen geklemmt wird. Ein Wirbelhaken mit Sicherheitshaken ermöglicht das kontrollierte Anschlagen und Ausrichten der Last, ausgeführt in Güteklasse 10 (ENORM). Je nach Ausführung unterscheiden sich Tragfähigkeit und Einfahrtaschen-Maße, damit der GS zur Zinkengeometrie und zum Lastfall passt.
Der JDT Aufsteckschuh GS ist ein kompaktes Stapler-Anbaugerät, das einen Gabelstapler schnell zu einem flexibel einsetzbaren Hebezeug macht. Der Aufsteckschuh wird auf einen Gabelzinken aufgeschoben und mit einer Sicherheitsspindel gegen Verrutschen geklemmt; der Wirbelhaken mit Sicherheitshaken ermöglicht ein kontrolliertes Anschlagen und Ausrichten der Last. Die Ausführung in Güteklasse 10 (ENORM) ist für hohe Beanspruchung im Industrieeinsatz ausgelegt.
Der Aufsteckschuh ist besonders sinnvoll, wenn eine Last zwar gehoben werden muss, aber der Einsatz eines Krans unverhältnismäßig wäre. Wichtig ist dabei stets die Beachtung der Resttragfähigkeit des Staplers (Lastschwerpunkt/Lastdiagramm).
Der GS ist in mehreren Größen erhältlich. Die Varianten unterscheiden sich vor allem durch Tragfähigkeit und die Einfahrtaschen-Maße (passend zum Zinkenquerschnitt). Wählen Sie die Ausführung so, dass der Aufsteckschuh sauber auf den Zinken passt, formschlüssig anliegt und die Tragfähigkeit (inkl. Anschlagmittel) nicht überschritten wird.
Die Maße beziehen sich auf die Einfahrtasche: a = Taschenbreite, b = Taschenhöhe, t = Einfahrtiefe. Die Einfahrtiefe sollte ausreichend groß sein, damit der Aufsteckschuh stabil aufliegt.
| Ausführung | Tragfähigkeit | Einfahrtasche a | Einfahrtasche b | Einfahrtiefe t | Gewicht ca. | Artikel-Nr. |
|---|---|---|---|---|---|---|
| GS 8 | 2500 kg | 126 mm | 64 mm | 180 mm | 5 kg | JDT0403208000 |
| GS 10 | 4000 kg | 143 mm | 66 mm | 230 mm | 7.5 kg | JDT0403210000 |
| GS 13 | 6700 kg | 160 mm | 80 mm | 280 mm | 10.5 kg | JDT0403213000 |
Ausstattung (alle Varianten): Güteklasse 10 (ENORM), Wirbelhaken mit Sicherheitshaken, Fixierung über 1 Sicherheitsspindel.
Der Aufsteckschuh ist ein Lastaufnahmemittel am Flurförderzeug: Vor jedem Einsatz sind Sitz und Funktion zu prüfen (Verformung, Risse, Haken/Sicherungsfalle, leichtgängiger Wirbel, intakte Klemmschraube). Während des Einsatzes ist der feste Sitz am Zinken regelmäßig zu kontrollieren und die Spindel bei Bedarf nachzuziehen. Heben Sie Lasten ruhig und senkrecht, vermeiden Sie Rucklasten, Pendelbewegungen und Schrägzug.
Für den sicheren Einsatz des GS benötigen Sie passende Anschlagmittel, die zur Last und zur Anschlagart passen. Wenn Sie in der JDT ENORM-Systemwelt bleiben möchten, sind folgende Komponenten typische Ergänzungen:
Typenseite – Aufsteckschuh GS (Übersicht)
https://www.tomanro.de/1898-JDT_Aufsteckschuh_fuer_Gabelstapler_GS-Typen
Varianten – Produktseiten
GS 8
GS 10
GS 13
Katalogseite (PDF)
https://www.tomanro.de/pdf/TOMANRO/Katalogseite-JDT-Aufsteckschuh_fuer_Gabelstapler_GS.pdf
Passende Kategorie – Staplerhaken
https://www.tomanro.de/195-Staplerhaken-Gruppe
Empfohlenes JDT Zubehör
JDT 1-strängig mit Gabelkopfhaken (ENORM)
JDT 2-strängig mit Gabelkopfhaken (ENORM)
JDT ENORM Anschlagpunkt TAPS-E
Top-Marke JDT (Herstellerseite)
