
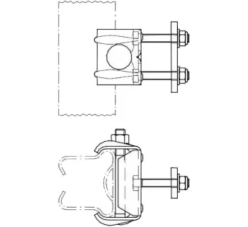
Die Tractel Zentrale Halterung auf Sprosse ist eine FABA A11-Systemhalterung zur zentralen Montage an den Sprossen einer vorhandenen Leiter. Sie bietet einen Klemmbereich bis 60 mm und die erforderlichen Halterabstände sind gemäß BGi 691 / DGUV 201-014 zu berücksichtigen.
Die Tractel Zentrale Halterung auf Sprosse ist eine FABA A11-Systemhalterung zur zentralen Montage an den Sprossen einer vorhandenen Leiter. Sie bietet einen Klemmbereich bis 60 mm und die erforderlichen Halterabstände sind gemäß BGi 691 / DGUV 201-014 zu berücksichtigen.
Die Tractel Zentrale Halterung auf Sprosse ist eine Systemhalterung für FABA A11 zur Montage an den Sprossen einer vorhandenen Leiter. Sie dient dazu, eine A11-Komponente auf der Sprosse zu befestigen, wenn die Montage zentral über die Sprosse erfolgen soll.
Die Halterung besitzt einen Klemmbereich bis zu 60 mm und ist damit für unterschiedliche Sprossengeometrien innerhalb dieses Bereichs ausgelegt. Die erforderlichen Halterabstände sind gemäß dem Merkblatt BGi 691 / DGUV 201-014 zu berücksichtigen.
| Merkmal | Angabe |
|---|---|
| System | FABA A11 |
| Montage | an den Sprossen einer vorhandenen Leiter |
| Klemmbereich | bis zu 60 mm |
| Hinweis Halterabstände | gemäß BGi 691 / DGUV 201-014 |
Die Zentrale Halterung auf Sprosse ist in unterschiedlichen Ausführungen innerhalb des Systems FABA A11 verfügbar (u. a. als A11, Edelstahl sowie A11, feuerverzinkt).
https://www.tomanro.de/5000-Tractel_Zentrale_Halterung_auf_Sprosse-Typen
Variantenübersicht für die Sprossenmontage im System FABA A11.
https://www.tomanro.de/4988-Tractel_Steigschutzschiene-Typen
Passende Systemführung für A11-Steigschutzinstallationen.
https://www.tomanro.de/5009-Tractel_Klemmen-Typen
Befestigungselemente zur Montage im A11-Systemumfeld.
https://www.tomanro.de/4983-Tractel_Fangwagen_FABA_Klassik-Typen
Mitlaufendes Auffanggerät als mobile Komponente im A11-System.
https://www.tomanro.de/4990-Tractel_FABA_A11_Sperren-Typen
Komponenten zur Begrenzung/Absicherung an definierten Schienenstellen.
https://www.tomanro.de/376-FABA_Steigleiter_A11-Gruppe
Überblick über Systemkomponenten und Zubehör im A11-Umfeld.
