
Das Flaig Horizontal-Vertikalsystem FX-HV ist ein verstellbares Hebesystem für den horizontalen und vertikalen Transport von ferromagnetischem Flach- und Rundmaterial und wird über Steckbolzen in Gesamthöhe und Schwerpunkt eingestellt. Es besitzt eine zusätzliche Kranöse für den Horizontaltransport, eine pulverbeschichtete Stahlkonstruktion und kann bis zu 20% der Nennlast auch ohne untergreifende Auflagen genutzt werden.
Das Flaig Horizontal-Vertikalsystem FX-HV ist ein verstellbares Hebesystem für den horizontalen und vertikalen Transport von ferromagnetischem Flach- und Rundmaterial und wird über Steckbolzen in Gesamthöhe und Schwerpunkt eingestellt. Es besitzt eine zusätzliche Kranöse für den Horizontaltransport, eine pulverbeschichtete Stahlkonstruktion und kann bis zu 20% der Nennlast auch ohne untergreifende Auflagen genutzt werden.
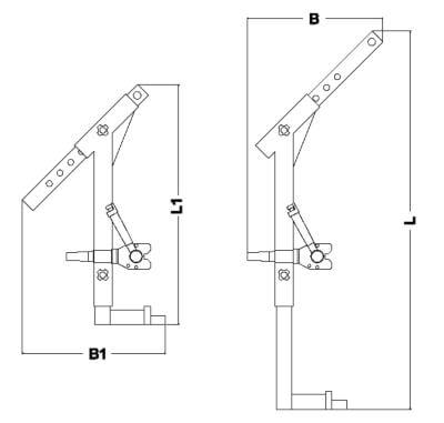
Das Horizontal-Vertikalsystem FX-HV von Flaig ist ein verstellbares Hebesystem für den horizontalen und vertikalen Transport von Flach- und Rundmaterial. Gesamthöhe und Schwerpunkt werden über Steckbolzen eingestellt; eine zusätzliche Kranöse auf der Rückseite unterstützt den horizontalen Transport, und das System kann bis zu 20% der Nennlast auch ohne untergreifende Auflagen verwendet werden.
Die Stahlkonstruktion ist pulverbeschichtet und wird inklusive FX Lasthebemagnet eingesetzt; die Auflagebolzen sind so ausgelegt, dass auch stehende Ronden angeschlagen werden können, und zudem lassen sich liegende Scheiben und Bleche aufstellen.
Verfügbare Modelle: FX-HV 150, FX-HV 200, FX-HV 400, FX-HV 800, FX-HV 2000, FX-HV 3000. Unterschiede ergeben sich aus Tragkraft, Arbeitsbereich (Rundmaterial-Ø, Flachmateriallänge) sowie dem Gewicht.
| Modell | Tragkraft Flachmaterial max. | Tragkraft Rundmaterial max. | Arbeitsbereich Rundmaterial-Ø | Arbeitsbereich Flachmateriallänge max. | Gewicht ca. | Artikel-Nr. |
|---|---|---|---|---|---|---|
| FX-HV 150 | 150 kg | 150 kg | 150-420 mm | 1000 mm | 18 kg | FL11030152 |
| FX-HV 200 | 200 kg | 200 kg | 250-750 mm | 2000 mm | 24 kg | FL11030202 |
| FX-HV 400 | 400 kg | 400 kg | 400-1000 mm | 2000 mm | 31 kg | FL11030402 |
| FX-HV 800 | 800 kg | 800 kg | 500-1200 mm | 2500 mm | 70 kg | FL11030802 |
| FX-HV 2000 | 2000 kg | 2000 kg | 500-1200 mm | 2500 mm | 243 kg | FL11032002 |
| FX-HV 3000 | 3000 kg | 3000 kg | 500-1200 mm | 2500 mm | 294 kg | FL11033002 |
Das System kann bis zu 20% seiner Nennlast auch ohne die untergreifenden Auflagen verwendet werden (werkstück- und einsatzabhängig).
Modelle, Eckdaten und Varianten auf TOMANRO.
https://www.tomanro.de/2881-Flaig_Horizontal_Vertikalsystem_FX_HV-TypenKompakte Übersicht als PDF-Download.
https://www.tomanro.de/pdf/TOMANRO/Katalogseite-Flaig-Horizontal-Vertikalsystem_FX-HV.pdfFX Magnetserie als Basis für viele Anwendungen.
https://www.tomanro.de/295-Flaig_Permanent_Lasthebemagnete_FX-TypenSchmale Ausführung für Träger und Profile.
https://www.tomanro.de/1168-Flaig_Permanent_Lasthebemagnet_FX_V-TypenFür dünnwandige Materialien und Rohre.
https://www.tomanro.de/297-Flaig_Permanent_Lasthebemagnet_FX_P-TypenTraverse mit zwei Magneten für Bleche und Werkstücke.
https://www.tomanro.de/2883-Flaig_Lasthebemagnettraverse_FX_LT-Typen
