
Der Tractel Rohrgreifer TI ist ein Lastaufnahmemittel zum vertikalen Heben und Positionieren von Rohren und Rundmaterial, wobei die Spannkraft proportional zur Last steigt und bei langen Rohren der paarweise Einsatz (idealerweise mit Traverse) empfohlen wird. Je nach Ausführung (z. B. TIS halbautomatisch oder TIA vollautomatisch, optional CR-Schonbacken) liegt der Greifbereich bei 230–900 mm und das Gewicht bei ca. 35–64 kg; EAN ist z. B. für TIS 230–400 3600230509389.
Der Tractel Rohrgreifer TI ist ein Lastaufnahmemittel zum vertikalen Heben und Positionieren von Rohren und Rundmaterial, wobei die Spannkraft proportional zur Last steigt und bei langen Rohren der paarweise Einsatz (idealerweise mit Traverse) empfohlen wird. Je nach Ausführung (z. B. TIS halbautomatisch oder TIA vollautomatisch, optional CR-Schonbacken) liegt der Greifbereich bei 230–900 mm und das Gewicht bei ca. 35–64 kg; EAN ist z. B. für TIS 230–400 3600230509389.
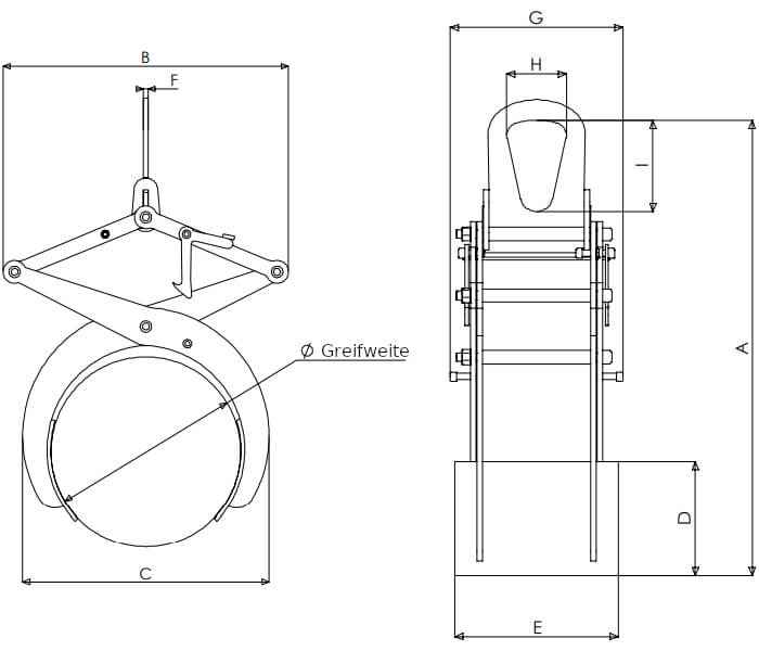
Der Rohrgreifer TI ist ein Lastaufnahmemittel zum vertikalen Heben und sicheren Positionieren von Rundmaterial (z. B. Rohre, Stangen, Bündel) – die Spannkraft steigt dabei proportional zur Last. Für lange Rohre wird die Verwendung paarweise (idealerweise mit Traverse) empfohlen, um die Last stabil und waagerecht zu führen.
Es stehen zwei Funktionsprinzipien sowie optionale Backen-Ausführungen zur Verfügung. Wählen Sie die Ausführung passend zu Prozess, Taktzeit und Oberflächenanforderung.
Der Greifbereich ist als min./max. Greifweite angegeben. Das Gewicht unterstützt die Auswahl hinsichtlich Handling und Kranreserve.
| Ausführung | WLL (kg) | Greifbereich min.–max. (mm) | Gewicht (kg) | Artikel-Nr. | EAN/GTIN (falls bekannt) |
|---|---|---|---|---|---|
| TIS 230-400 | 500 | 230–400 | 35 | 50938 | 3600230509389 |
| TIA 230-400 | 500 | 230–400 | 37 | 50948 | – |
| TIS 380-650 | 500 | 380–650 | 39 | 50958 | – |
| TIA 380-650 | 500 | 380–650 | 39 | 50968 | – |
| TIS1 450-900 | 1000 | 450–900 | 64 | 50978 | – |
| TIA1 450-900 | 1000 | 450–900 | 64 | 50988 | – |
| TIS 230-400 CR | 500 | 230–400 | 35 | 189918 | – |
| TIA 230-400 CR | 500 | 230–400 | 37 | 189928 | – |
| TIS 380-650 CR | 500 | 380–650 | 39 | 189938 | – |
| TIA 380-650 CR | 500 | 380–650 | 39 | 189948 | – |
| TIS1 450-900 CR | 1000 | 450–900 | 64 | 189958 | – |
| TIA1 450-900 CR | 1000 | 450–900 | 64 | 189968 | – |
Hinweis: Weitere EAN/GTIN sind je Ausführung im TOMANRO-Artikel hinterlegt (Beispiel oben: TIS 230-400).
Für ein kontrolliertes, materialschonendes und normgerechtes Handling werden bei längeren Rohren typischerweise 2 Greifer mit einer Traverse kombiniert. Je nach Anwendung passen außerdem:
https://www.tomanro.de/2531-Tractel_Rohrgreifer_TI-Typen
https://www.tomanro.de/21875-Tractel_Rohrgreifer_TI_S05_230_400-Produkte
https://www.tomanro.de/2536-Tractel_Rundmaterialgreifer_RT-Typen
