Wir verwenden Cookies. Relevante Cookies sind für die Funktionalität der Seite notwendig, wie zum Beispiel für den Warenkorb. Zudem verwenden wir Webanalyse-Tools von Dritten, um die Nutzung der Webseite zu analysieren und die Anzeigenkampagnen zu messen. Hierzu nutzen wir Google Analytics und Google Ads. Das Tracken mit Google Analytics und Google Ads akzeptieren Sie mit einem Klick auf "Einverstanden".(mehr dazu)
Ansonsten klicken Sie bitte auf nur Notwendige

Cookie-Entscheidung widerrufen
Top
Hohlkolbenzylinder YCS 12 / 40 Ansicht 2
Abbildung kann abweichen vom Original
Hohlkolbenzylinder YCS 12 / 40 Ansicht 2

Yale
Hohlkolbenzylinder YCS 12 / 40

Druckkraft12 t
Durchgangsbohrung Ø 70 mm
Hub40 mm
Bauhöhe eingefahren142 mm
Ölvolumen max.71 cm³
Betriebsdruck700 bar
Wirksame Kolbenfläche Druck17.2 cm²
Zylinderaußendurchmesser70 mm
Gewicht ca.3.5 kg
Artikel-Nr.: YALE-N11400070


Qualitätsmerkmale

  • Einfachwirkend mit Federrückzug
  • Gehäuse und Kolben aus massivem Chrom-Molybdänstahl
  • Doppelte Bronzeführung der hartverchromten Kolbenstange
  • Vollbelastbarer Kolbenendanschlag
  • Mit Schmutzabstreifer innen und außen

595,85 €
%
UVP 701,00
( exkl. MwSt
Versandkostenfrei (innerhalb Deutschlands)
Lieferzeit: ca. 1 Woche
Zwischenverkauf vorbehalten!
Anzahl

Weitere Modelle mit: Druckkraft 12 t
Dazu passende Produkte:
EAN/GTIN: 4025092150873

Beschreibung: Yale Hohlkolbenzylinder YCS 12 / 40

Der Hohlkolben-Zylinder ist im Yale ChroMo-Desing gefertigt. Am Zylindergehäuse und an der Kolbenstange befinden sich metrische Befestigungsgewinde. Im 3/8 NPT Ölanschlussgewinde ist die Kupplungsmuffe CFY-1 eingeschraubt.
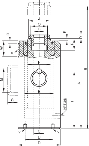
Masszeichnung von Yale Hohlkolbenzylinder YCS 12 / 40

Abmessungen

Hohlkolbenzylinder YCS 12 t

A135mm
B175mm
C20mm
D70mm
E55mm
F40mm
J38mm
K3mm
M-mm
OM30x1.5mm
P20mm
R4mm
S-mm
T-mm
U58mm
V2xM8mm
W30mm
XM70x2mm
Y7mm


Top Qualität Schneller Service Kompetente Beratung
© 2024 TOMANRO. Alle Rechte vorbehalten.
TOMANRO GmbH Logo klein