
Das Yale Tigrip® Hebegeschirr TGF ist für den horizontalen Transport von Blechpaketen ausgelegt und wird typischerweise mit 2 Klemmen und zweisträngigem Kettengehänge eingesetzt. Je nach Variante stehen unterschiedliche Tragfähigkeiten (bis 10000 kg je Geschirr) sowie Greifbereiche (z. B. 0–250 mm bzw. 50–300 mm) inklusive definierter Grundmaße (A–H), Gewichte und EAN zur Verfügung. Die Klemmung wird über den Rastersteg schnell an die Paketdicke angepasst, wobei die Tragfähigkeit für den Betrieb bei β ≤ 45° gilt.
Das Yale Tigrip® Hebegeschirr TGF ist für den horizontalen Transport von Blechpaketen ausgelegt und wird typischerweise mit 2 Klemmen und zweisträngigem Kettengehänge eingesetzt. Je nach Variante stehen unterschiedliche Tragfähigkeiten (bis 10000 kg je Geschirr) sowie Greifbereiche (z. B. 0–250 mm bzw. 50–300 mm) inklusive definierter Grundmaße (A–H), Gewichte und EAN zur Verfügung. Die Klemmung wird über den Rastersteg schnell an die Paketdicke angepasst, wobei die Tragfähigkeit für den Betrieb bei β ≤ 45° gilt.
Das Tigrip® Hebegeschirr TGF ist für den horizontalen Transport von Blechpaketen ausgelegt und wird typischerweise paarweise eingesetzt (2 Klemmen) – in Verbindung mit einem zweisträngigen Kettengehänge. Über einen Rastersteg lässt sich die Klemmung innerhalb des Greifbereichs schnell auf die Paketdicke einstellen.
Abbildung: Tigrip® TGF Klemme (Produktbild)
Das System eignet sich für Stahl- und Metallservice, Blechlager, Fertigung und Logistik, wenn Blechpakete (gebündelte Bleche) sicher horizontal aufgenommen und umgesetzt werden sollen. Für Sonderfälle sind Ausführungen für größere Paketdicken erhältlich.
Unverzichtbare Hilfsmittel: ein geeignetes Hebezeug/Kran sowie ein zum Einsatz passendes Kettengehänge bzw. passende Verbindungselemente (z. B. Schäkel), abgestimmt auf Tragfähigkeit und Anschlagpunkte.
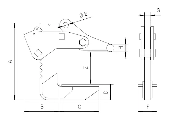
Untenstehend sind die gängigen Ausführungen der Type TGF mit Greifbereich, Grundmaßen (A–H), Gewicht und EAN/GTIN aufgeführt. Hinweis: In den Produktdetails kann die Ausführung auch als Einzelklemme geführt sein.
| Modell | Tragfähigkeit (Geschirr) | Greifbereich | Gewicht ca. | Artikel-Nr. | EAN/GTIN |
|---|---|---|---|---|---|
| TGF 1.3/250 | 1300 kg | 0 – 250 mm | 23 kg | YALE-N50601624 | 4025092553346 |
| TGF 3.3/250 | 3300 kg | 0 – 250 mm | 39 kg | YALE-N50601626 | 4025092551540 |
| TGF 6.6/250 | 6650 kg | 0 – 250 mm | 87 kg | YALE-N50601628 | 4025092551656 |
| TGF 10.0/300 | 10000 kg | 50 – 300 mm | 92 kg | YALE-192065646 | - |
Gewichtsangabe: je nach Datenquelle als ungefähres Gewicht für 2 Einzelklemmen mit Kettengehänge (typisch 1 m) angegeben.
Für den sicheren Einsatz werden häufig zusätzliche Komponenten benötigt bzw. empfohlen:
Typenseite (Übersicht):
TOMANRO – Yale Tigrip® Hebegeschirr TGF (Typen)
Typenseite (Variante 1.3/250):
Typenseite (Variante 3.3/250):
Typenseite (Variante 6.6/250):
Typenseite (Variante 10.0/300):
Dokument (Bedienungsanleitung):
Das Yale Tigrip® Hebegeschirr TGF ist für den horizontalen Transport von Blechpaketen konzipiert und wird in der Praxis mit zwei Klemmen und einem zweisträngigen Kettengehänge eingesetzt. Der Greifbereich lässt sich über den Rastersteg schnell an die Paketdicke anpassen, wobei die Tragfähigkeit für das komplette Geschirr bei β ≤ 45° gilt. Je nach Ausführung stehen Varianten bis 10000 kg und bis 300 mm Greifweite zur Verfügung.
