Lufttrennstellen werden zur galvanischen Abtrennung von Teilbereichen, die getrennt eingespeist und abgeschaltet werden können, verwendet, z.B. für Wartungsstrecken. Pro Trennstelle werden 2 Lufttrennstellen in geeignetem Ab-stand montiert, um eine Spannungsverschleppung über die Stromabnehmer zu vermeiden.
Lufttrennstellen werden zur galvanischen Trennung und Segmentierung von Anlagenabschnitten verwendet und unterteilen ein Schleifleitungssystem in Abschnitte. Beispielsweise lassen sich auf diese Weise Wartungsstrecken einrichten, die getrennt eingespeist und eingeschaltet werden können.
Eine Lufttrennstelle besteht aus zwei sich gegenüberstehenden Endkappen. Pro Trennstelle werden zwei Lufttrennstellen in geeignetem Abstand montiert, um eine Spannungsverschleppung über die (Doppel-)Stromabnehmer zu vermeiden.
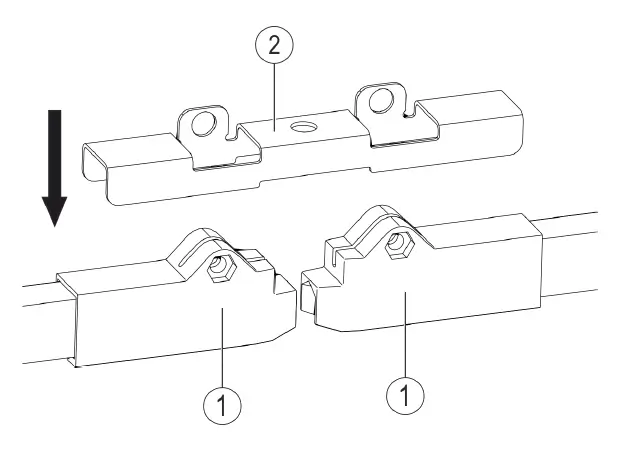
Voraussetzung für die Montage einer Lufttrennstelle ist, dass die Enden der Schleifleitungsschienen entgratet und nicht mit einem Verbinder verbunden sind. Die Endkappen (Pos. 1) werden auf die Schienenenden aufgeschoben und montiert. Das Blech für Lufttrennstelle (Pos. 2) wird auf die Endkappen (Pos. 1) aufsetzen.
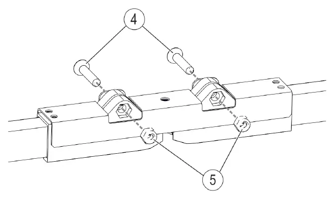
Blech für Lufttrennstelle (Pos. 2) mittels Senkschrauben DIN 7991 M6x30-A2 (Pos. 4) mit Gabelschlüssel SW 10 anziehen und die Sicherungsmuttern DIN 985 M6-A4 (Pos. 5) auf den Endkappen montieren (siehe Abb. 100).
Die Senkschraube DIN 7991 M6x16-A2 (Pos. 6) mit einem Innensechskantschlüssel SW5 und die Scheibe DIN 9021-A6,4-A2 (Pos. 8) sowie der Sechskantmutter DIN 985-M6-A4 (Pos. 7) mithilfe eines Gabelschlüssels SW10 anziehen, sodass die Abdeckung (Pos. 3) auf dem Blech (Pos. 2) montiert wird.
