
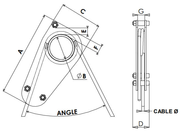
Der Lastpositionierer TC von Tractel ist ein Sonderanschlagmittel zum Ausbalancieren und Positionieren von Lasten mit außermittigem Schwerpunkt über ein einzelnes Drahtseil und verriegelt die eingestellte Position unter Last. Je Ausführung ist der Arbeitsbereich über den zulässigen Seil-Ø definiert (z. B. 11 mm, 13 mm, 18 mm) mit Tragfähigkeiten von 2000 kg bis 5000 kg, festem Eigengewicht von ca. 3 kg bis 10 kg und angegebenen Grundmaßen.
Der Lastpositionierer TC von Tractel ist ein Sonderanschlagmittel zum Ausbalancieren und Positionieren von Lasten mit außermittigem Schwerpunkt über ein einzelnes Drahtseil und verriegelt die eingestellte Position unter Last. Je Ausführung ist der Arbeitsbereich über den zulässigen Seil-Ø definiert (z. B. 11 mm, 13 mm, 18 mm) mit Tragfähigkeiten von 2000 kg bis 5000 kg, festem Eigengewicht von ca. 3 kg bis 10 kg und angegebenen Grundmaßen.
Der Lastpositionierer TC ist ein Sonderanschlagmittel zum Ausbalancieren und Positionieren von Lasten mit außermittigem Schwerpunkt unter Verwendung eines einzigen Drahtseils. Nach dem Einstellen der Position verriegelt der TC das Drahtseil unter Last, sodass die Last stabil in Waage bleibt. Für eine sichere Funktion ist eine Lastverteilung von 30–70% der jeweiligen Tragfähigkeit vorgesehen.
Die Ausführungen unterscheiden sich nach Tragfähigkeit und Arbeitsbereich über den zulässigen Seil-Ø. Zusätzlich variieren Gewicht und die Grundmaße (A–G) je Größe.
| Ausführung | Arbeitsbereich (Seil-Ø) | Tragfähigkeit | Gewicht (ca.) | Artikel-Nr. | EAN/GTIN |
|---|---|---|---|---|---|
| TC 2-11 | 11 mm | 2000 kg | 3 kg | 50828 | 3600230508283 |
| TC 3-13 | 13 mm | 3000 kg | 5 kg | 50838 | 3600230508382 |
| TC 5-18 | 18 mm | 5000 kg | 10 kg | 50848 | 3600230508481 |
Für den Einsatz des Lastpositionierers TC wird ein geeignetes Drahtseil-Anschlagmittel im passenden Seil-Ø benötigt, idealerweise mit passenden Endbeschlägen (z. B. Haken oder Schäkel) für die Anschlagpunkte der Last. Für alternative Anwendungen innerhalb derselben Produktfamilie sind die Tractel Lastpositionierer TE (für Lastkette) und TF (für Doppelseil) passende Optionen. Ergänzend sind robuste Tractel Schäkel hilfreich, um Anschlagpunkte und Verbindungselemente sicher zu kombinieren.
Typenseite: Tractel Lastpositionierer TC
https://www.tomanro.de/2529-Tractel_Lastpositionierer_TC-Typen
Produktseite: TC 2-11 (2000 kg), Art.-Nr. 50828
https://www.tomanro.de/21868-Tractel_Lastpositionierer_TC_2_11-Produkte
Produktseite: TC 3-13 (3000 kg), Art.-Nr. 50838
https://www.tomanro.de/21869-Tractel_Lastpositionierer_TC_3_13-Produkte
Produktseite: TC 5-18 (5000 kg), Art.-Nr. 50848
https://www.tomanro.de/21870-Tractel_Lastpositionierer_TC_5_18-Produkte
Typenseite: Tractel Lastpositionierer TE (Kette)
https://www.tomanro.de/2530-Tractel_Lastpositionierer_TE-Typen
Typenseite: Tractel Lastpositionierer TF (Doppelseil)
https://www.tomanro.de/2528-Tractel_Lastpositionierer_TF-Typen
Typenseite: Tractel Schäkel mit Mutter und Splint
https://www.tomanro.de/2573-Tractel_Schaekel_mit_Mutter_und_Splint-Typen
Bedienungsanleitung (PDF): Lastpositionierer TC / TE / TF
https://www.tomanro.de/pdf/Bed_Lastpositionierer_TC-TE-TF.pdf
Gruppe: Sonderanschlagmittel
https://www.tomanro.de/199-Sonderanschlagmittel-Gruppe
