
Die Krangabel TKG-vh von Yale ist ein verstellbares Lastaufnahmemittel für den Kranbetrieb zum Heben und Transportieren von palettierten Gütern und geeigneten Lastträgern. Der Gewichtsausgleich wird manuell über die Rasterverstellung der Aufhängeöse eingestellt, damit der Lastschwerpunkt vor dem Hub korrekt getroffen wird und die Last stabil hängt. Durch verstellbare Tragzinken, Höhenverstellung und die mitgelieferte Kette zur Ladungssicherung lässt sich die Gabel an wechselnde Lastsituationen anpassen und sicher betreiben.
Die Krangabel TKG-vh von Yale ist ein verstellbares Lastaufnahmemittel für den Kranbetrieb zum Heben und Transportieren von palettierten Gütern und geeigneten Lastträgern. Der Gewichtsausgleich wird manuell über die Rasterverstellung der Aufhängeöse eingestellt, damit der Lastschwerpunkt vor dem Hub korrekt getroffen wird und die Last stabil hängt. Durch verstellbare Tragzinken, Höhenverstellung und die mitgelieferte Kette zur Ladungssicherung lässt sich die Gabel an wechselnde Lastsituationen anpassen und sicher betreiben.
Die Yale Krangabel TKG-vh ist eine robuste und zuverlässig konstruierte Lastaufnahmeeinrichtung für den Kranbetrieb. Sie ermöglicht den sicheren Transport von palettierten Gütern, Ringen, Coils und anderen schweren Lasten. Der Gewichtsausgleich erfolgt manuell über eine praktische Rasterverstellung, wodurch die Aufhängeöse exakt über dem Lastschwerpunkt positioniert werden kann – Voraussetzung für eine stabile Hebesituation.
Dank verstellbarer Zinken und Höhenverstellung ist die TKG-vh flexibel einsetzbar für unterschiedlichste Palettenformate und Lastabmessungen. Yale setzt bei dieser Krangabel auf hohe Sicherheitsstandards, normgerechte Fertigung und eine langlebige, praxisnahe Ausstattung.
Die Aufhängeöse lässt sich per Rasterung exakt über dem Lastschwerpunkt positionieren – für optimalen Gleichgewichtsausgleich.
Die Zinken lassen sich individuell auf Palettenbreiten oder Coildurchmesser einstellen – einfach, schnell, sicher.
Alle Komponenten sind nach höchsten Sicherheitsstandards ausgelegt – für maximale Belastbarkeit im täglichen Betrieb.
Gefertigt nach EG-Richtlinien und einschlägigen Normen – bewährte Yale-Qualität für Industrie und Logistik.
Vor dem Anheben der Last wird die Aufhängeöse manuell per Rasterverstellung in die richtige Position gebracht. So lässt sich der Lastschwerpunkt optimal ausbalancieren, was die Stabilität während des Transports erheblich verbessert – auch bei asymmetrischen oder wechselnden Lastgewichten.
Die Zinken der Krangabel sind seitlich verschiebbar, was den Transport von Paletten verschiedenster Abmessungen ebenso ermöglicht wie das Zusammenschieben für Ringe und Coils. Zusätzlich erlaubt die Höhenverstellung eine präzise Anpassung an die Last und das Umfeld.
Ideal für die Beschickung von Maschinen, Kommissionierung oder innerbetrieblichen Warentransport mit dem Kran.
Geeignet für den sicheren Transport von Coils, Ringen und Blechteilen mit zentralem Lastschwerpunkt.
Robuste Lösung für das Heben von Baumaterial, Werkzeugpaletten oder modularen Elementen mit variablem Gewicht.
Schnelle Anpassung an unterschiedliche Paletten- und Transportformate – auch ohne Stapler einsetzbar.
| Technische Daten | Details |
|---|---|
| Modell | Yale Krangabel TKG-vh |
| Lastausgleich | Manuell über Rasterverstellung der Aufhängeöse |
| Zinken | Verstellbar in Breite, zusammenschiebbar für Ringe/Coils |
| Höhenverstellung | Ja, individuell einstellbar |
| Sicherheit | 4-fache Sicherheit gegen Bruch |
| Normen | Entspricht den einschlägigen EG-Richtlinien und Normvorgaben |
| Lieferumfang | Krangabel mit Sicherungskette zur Ladungssicherung |
Vor jedem Hebevorgang die Position der Aufhängeöse exakt am Lastschwerpunkt einstellen – so wird ein Schrägstand verhindert und das Ladegut sicher geführt. Bei Coiltransporten Zinken vollständig zusammenschieben für optimale Lastaufnahme.
Die Yale TKG-vh erfüllt alle relevanten Sicherheitsnormen und ist mit einer 4-fachen Bruchsicherheit ausgestattet. In Verbindung mit der mitgelieferten Sicherungskette ist der Transport von Lasten besonders zuverlässig und vorschriftenkonform ausführbar.
Die Krangabel TKG-vh von Yale bietet durch manuelle Schwerpunktverstellung, verstellbare Zinken und hohe Sicherheitsstandards eine vielseitige und praxisnahe Lösung für den Lastentransport mit dem Kran. Sie eignet sich hervorragend für wechselnde Einsatzszenarien in Industrie, Lager und Bau.
Jetzt Yale Krangabel TKG-vh kaufen und Lasten sicher, flexibel und effizient heben!
Die Krangabel TKG-vh von Yale ist ein robustes Lastaufnahmemittel für den Kranbetrieb, entwickelt zum sicheren Heben, Transportieren und Positionieren von palettierten Gütern sowie geeigneten Lastträgern. Der Gewichtsausgleich erfolgt manuell: Vor dem Hub wird die Aufhängeöse über eine Rasterverstellung so eingestellt, dass sie über dem Lastschwerpunkt liegt und die Last stabil geführt wird.
Die TKG-vh ist ideal, wenn Lasten per Kran umgesetzt werden müssen – z. B. in Industrie, Lager/Logistik, Montage und auf Baustellen. Dank verstellbarer Tragzinken und Höhenverstellung lässt sich die Gabel flexibel an verschiedene Palettenbreiten und Lastsituationen anpassen; für den Transport von Ringen und Coils können die Zinken einfach zusammengeschoben werden.
Die Baureihe unterscheidet sich hauptsächlich über die Nenntragfähigkeit (WLL) und die zugehörige Ausführung. Alle Varianten arbeiten mit manuellem Gewichtsausgleich über die Rasterverstellung der Aufhängeöse und sind mit verstellbaren Zinken sowie Höhenverstellung ausgestattet. Wählen Sie die Variante so, dass die WLL zur maximalen Last (inklusive Anschlagmittel-/Handhabungsreserve) passt.
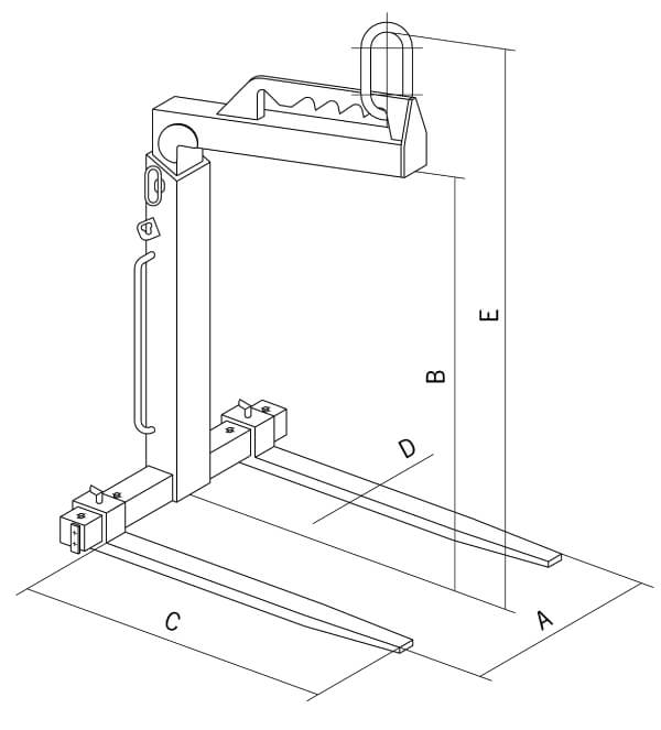
| Ausführung | WLL | Zinkenverstellbereich | Nutzhöhe | Gewichtsausgleich | Gewicht ca. | EAN/GTIN | Artikel-Nr. |
|---|---|---|---|---|---|---|---|
| TKG-vh 1.0 | 1000 kg | 350 - 900 mm | 1100 - 1600 mm | von Hand | 125 kg | 4025092552370 | YALE-N53407511 |
| TKG-vh 1.5 | 1500 kg | 350 - 900 mm | 1300 - 2000 mm | von Hand | 148 kg | 4025092551052 | YALE-N53407512 |
| TKG-vh 2.0 | 2000 kg | 400 - 900 mm | 1300 - 2000 mm | von Hand | 193 kg | 4025092554756 | YALE-N53407513 |
| TKG-vh 3.0 | 3000 kg | 450 - 900 mm | 1300 - 2000 mm | von Hand | 248 kg | 4025092551564 | YALE-N53407514 |
| TKG-vh 5.0 | 5000 kg | 500 - 1000 mm | 1300 - 2000 mm | von Hand | 388 kg | 4025092554763 | YALE-N53407515 |
Die TKG-vh ist für den rauen Arbeitsalltag ausgelegt und bietet eine praxisnahe Kombination aus Verstellbarkeit und Sicherheitsreserven. Der Schwerpunkt wird über eine Rasterverstellung der Aufhängeöse eingestellt, damit die Last beim Anheben möglichst ruhig und kippsicher geführt wird. Laut Anbieterangaben entspricht die Konstruktion den einschlägigen Normen und EG-Richtlinien und ist mit einer 4-fachen Sicherheit gegen Bruch ausgelegt.
Vor dem Hub wird die Krangabel am Kranhaken angeschlagen und an die Last angepasst (Zinken- und Höhenverstellung). Anschließend wird der Lastschwerpunkt durch Umsetzen der Aufhängeöse in der Rasterung eingestellt, sodass die Last nicht schräg hängt. Für den Transport wird die Last zusätzlich mit der mitgelieferten Kette zur Ladungssicherung gesichert.
Zum Lieferumfang gehört die Krangabel inklusive Kette zur Ladungssicherung. Benötigte Krananschlagmittel (z. B. geeigneter Schäkel) sind abhängig von Anschlagart und erforderlicher WLL passend auszuwählen.
Verwenden Sie die TKG-vh ausschließlich innerhalb der WLL und nur für Lasten, die sich sicher über Tragzinken aufnehmen und gegen Bewegung sichern lassen. Der Anbieter weist darauf hin, dass die Krangabeln den einschlägigen Normen und EG-Richtlinien entsprechen und mit hoher Bruchsicherheit ausgelegt sind; dennoch ist vor jedem Hub eine Sicht- und Funktionsprüfung (Rahmen, Aufhängepunkt, Verriegelungen/Versteller, Zinken, Sicherungskette) zwingend. Transporte über Personen erfordern zusätzliche geeignete Maßnahmen, damit Last oder Teile nicht herabfallen können.
Für wiederkehrende Hubvorgänge ist ein passendes Yale Hebezeug sinnvoll, z. B. ein Yale Elektrokettenzug für effizientes Heben oder ein Yale Handkettenzug für flexible, stromunabhängige Einsätze. Zur Lastkontrolle kann eine Yale Kranwaage helfen, Überlast zu vermeiden und Prozesse zu standardisieren. Ergänzend sollten geeignete Anschlagmittel (z. B. Schäkel) mit passender WLL eingesetzt werden, damit die Krangabel sauber und senkrecht belastet wird.
Typenseite: Yale Krangabel TKG-vh (TOMANRO)
https://www.tomanro.de/250-Yale_Krangabel_TKG_vh-Typen
Katalogseite (PDF): Yale Krangabel TKG-vh (TOMANRO)
https://www.tomanro.de/pdf/TOMANRO/Katalogseite-Yale-Krangabel_TKG-vh.pdf
Katalogauszug (PDF): TKG vh (TOMANRO)
https://www.tomanro.de/pdf/TKGvh_Katalog.pdf
Passend: Yale Elektrokettenzug CPV (TOMANRO)
https://www.tomanro.de/101-Yale_Elektrokettenzug_CPV-Typen
Passend: Yale Elektrokettenzug CPE (TOMANRO)
https://www.tomanro.de/436-Yale_Elektrokettenzug_CPE-Typen
Passend: Yale Kettenzug ERGO 360 (TOMANRO)
https://www.tomanro.de/137-Yale_Kettenzug_ERGO_360-Typen
Passend: Yale Kranwaage Modell TKI (TOMANRO)
https://www.tomanro.de/1089-Yale_Kranwaage_Modell_TKI-Typen
Kategorie: Krangabeln / Ladegabeln (TOMANRO)
