
Die REMA Trägerklemme RMAC ist eine verstellbare Spindel-Trägerklemme zur sicheren Herstellung eines temporären Anschlagpunktes an Winkelprofilträgern. Sie wird über eine Spindel eingestellt und zusätzlich fixiert, wodurch das sichere Einhängen von Hebezeugen oder Anschlagmitteln möglich ist. Die RMAC ist in mehreren Tragfähigkeiten bis 3000 kg erhältlich und für den industriellen Einsatz gemäß EN 13155 ausgelegt.
Die REMA Trägerklemme RMAC ist eine verstellbare Spindel-Trägerklemme zur sicheren Herstellung eines temporären Anschlagpunktes an Winkelprofilträgern. Sie wird über eine Spindel eingestellt und zusätzlich fixiert, wodurch das sichere Einhängen von Hebezeugen oder Anschlagmitteln möglich ist. Die RMAC ist in mehreren Tragfähigkeiten bis 3000 kg erhältlich und für den industriellen Einsatz gemäß EN 13155 ausgelegt.
Die REMA Trägerklemme RMAC ist eine verstellbare Spindel-Trägerklemme zur Herstellung eines semi-permanenten Anschlagpunktes an Winkelprofilträgern. Sie wird über die Spindel an die Profilgeometrie angepasst und mit einer zusätzlichen Fixierschraube gegen Verrutschen gesichert; die schwenkbare Öse erleichtert das Einhängen von Anschlagmitteln oder Hebezeugen. Die RMAC ist CE-gekennzeichnet, wird u. a. nach EN 13155 und EN 12100 geführt und ist für typische Anwendungen wie Heben, Ziehen oder das Anschlagen von Stahlprofilen ausgelegt.
Die RMAC ist als Lösung für Winkelstahl-Profile beschrieben; für I-/H-Trägerflansche sollten passende Trägerklemmen/Fahrwerke der jeweiligen Bauart verwendet werden.
Die RMAC wird in mehreren Ausführungen angeboten, die sich hauptsächlich durch Tragfähigkeit und Klemmbereich (Flansch-/Profilbreite) unterscheiden. Bei TOMANRO sind derzeit die Varianten 1T, 1.5T und 3T gelistet; alle Ausführungen sind auf einfache Montage ausgelegt und besitzen eine schwenkbare Öse.
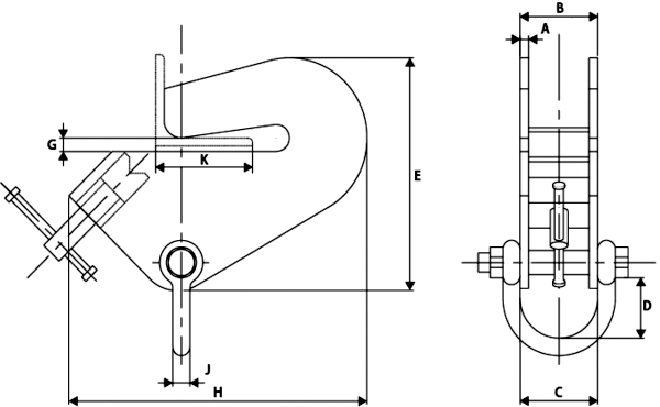
| Variante | WLL | Klemmbereich (mm) | Maße (A / B / C / D / E) | Maße (G / H / J) | Gewicht | Artikel-Nr. / GTIN |
|---|---|---|---|---|---|---|
| RMAC-1T | 1000 kg | 38 - 101 | 6 / 69 / 70 / 96 / 206 mm | 15 / 258 / 16 mm | ca. 4.5 kg | 3318403 / 8717365114755 |
| RMAC-1.5T | 1500 kg | 50 - 152 | 8 / 99 / 107 / 98 / 270 mm | 19 / 346 / 20 mm | ca. 11.0 kg | 3318405 / 8717365114762 |
| RMAC-3T | 3000 kg | 101 - 203 | 10 / 99 / 107 / 98 / 343 mm | 25.4 / 490 / 20 mm | ca. 21.5 kg | 3318407 / 8717365114779 |
Die RMAC besitzt zusätzlich zur Spindel eine Fixierschraube, um die Klemme gegen Bewegung/Verrutschen zu sichern (wichtig bei wechselnden Belastungsrichtungen, z. B. Ziehen).
Die RMAC ist CE-gekennzeichnet und wird u. a. nach EN 13155 und EN 12100 geführt; bei TOMANRO sind zusätzlich EN 12100-1/2, AS 4991 und ASME B30.20 genannt. Als Verbindungsmittel sollten Trägerklemmen in der Praxis mindestens jährlich durch eine sachkundige Person auf Sicht und Funktion geprüft werden (betriebsspezifische Vorgaben beachten).
Zur RMAC passen je nach Anwendung ein geeignetes Hebezeug (z. B. Handkettenzug oder Hebelzug), ausreichend dimensionierte Anschlagmittel (Rundschlingen/Kettengehänge) sowie Verbindungselemente (z. B. Schäkel) mit passender Tragfähigkeit. Für das Arbeiten an Winkelprofilen kann es sinnvoll sein, einen zweiten geeigneten temporären Anschlagpunkt vorzusehen (z. B. für Umhängen/Positionieren), damit Lasten kontrolliert geführt werden können.
