| Tragfähigkeit | 600/800 kg |
| Seildurchmesser | 8.3 mm |
| Auslösung durch | Handbetätigung |
| Gewicht ca. | 4 kg |
| Artikel-Nr.: | 3219 |
Der Blocstop vom Typ BS kann auf Hub- oder Zuganlagen für den Materialtransport installiert werden. Beim Versagen der Seilwinde oder Bruch des Hub- oder Zugseils gewährleistet die Abfangsicherung das Auffangen der Last.
Die Fangvorrichtung kann auf einem Sicherungsseil oder direkt auf dem Lastenhub oder -zugseil installiert werden.
Die Abfangsicherung ist für jede Zieh- und Hebevorrichtung mit durchlaufendem Seil handbetriebener Seilzug vom Typ Greifzug oder elektrische Seilwinde vom Typ Tirak geeignet, die mit einem Greifzug- oder Tirak-Seil ausgestattet ist.
Beim Heben oder Ziehen einer Last, wenn sich das Seil in die Fangvorrichtung hinein bewegt, öffnen sich die Backen ein wenig und lassen das Seil ungehindert hindurch.
Zum Absenken oder Lösen der Last muss die Fangvorrichtung von Hand geöffnet werden, indem der Bügel angehoben und während der gesamten Abwärtsbewegung in dieser Position gehalten wird.
Beim Versagen der Seilwinde oder Bruch des Hub- oder Zugseils genügt es, den Bügel loszulassen, um das sofortige Festklemmen der Abfangsicherung zu erreichen.
Die Fangvorrichtung bocstop Typ BS besteht im Wesentlichen aus einem selbstklemmenden
Backensystem (Pos. g) in einem Gehäuse aus verzinktem Stahl.
Solange sich das Seil (Pos. b) in der durch den Pfeil (Pos. c) angegebenen Zugrichtung durch die Abfangsicherung bewegt, öffnen sich die Backen automatisch und lassen das Seil durchgleiten. Wenn sich das Seil hingegen in der der Zugrichtung (Pos. c) entgegengesetzten Richtung durch die Abfangsicherung bewegt, schließen sich die Backen sofort auf dem Seil und Klemmen es – nach dem Greifzug-Prinzip – umso stärker ein, je größer die Last ist.
Um eine kontrollierte Abwärtsbewegung der Last zu ermöglichen, kann die Fangvorrichtung bocstop Typ BS geöffnet werden, indem der Bügel (Pos. d) in Pfeilrichtung bewegt wird. Die Freischaltung ist nur möglich, wenn die Abfangsicherung unbelastet ist. Dank einer Rückholfeder wird der Freischaltbügel gegen die Abfangsicherung in Position gehalten (dargestellt durch die durchgezogene Linie).
Der Schäkel mit Sicherungsstift (Pos. e) wird optional auf der Abfangsicherung montiert.
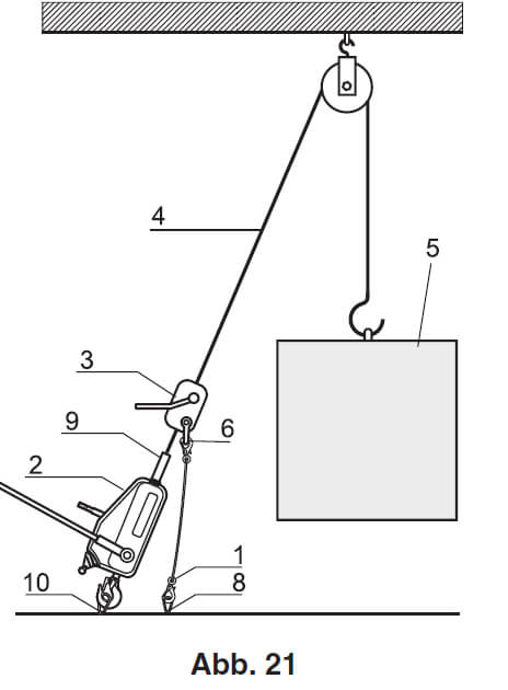
Das Gerät wird durch seinen Schäkel an einem Anschlagpunkt (Pos. 8 Abb. 21) oder mit einem Stropp an der Last angeschlagen.
Installation und Anbringung des Hubseils in der Abfangsicherung für eine Lasthub- oder -zuganlage. Abb. 21 zeigt die Installation der Abfangsicherung mit einem Seilzug mit durchlaufendem Seil vom Typ Greifzug. Bei der Installation wie folgt vorgehen:
WICHTIG: Darauf achten, dass die Fangvorrichtung immer am Hub- oder Zugseil ausgerichtet ist und der Stropp nicht mehr als 5 cm schlaff ist, um einen heftigen Schlag beim Versagen des Hub- oder Zugsystems zu vermeiden.
| Fangvorrichtung blocstop BS 600/800 kg | ||
|---|---|---|
| a | 161 | mm |
| b | 167 | mm |
| c | 209 | mm |
| d | 91 | mm |
| Øe | 12 | mm |
| o | 74 | mm |
| g | 64 | mm |
| h | 38 | mm |
| i | 20 | mm |
| j | 14 | mm |
| k | 42.5 | mm |
| l | 39 | mm |
| l* | 100 | mm |
| m | 33 | mm |
| m* | 39 | mm |
| r | 19 | mm |
| Øs | 12.2 | mm |
