| Tragfähigkeit | 600 kg |
| Seildurchmesser | 8 mm |
| Auslösung durch | Übergeschwindigkeit |
| max. Seilgeschwindigkeit | 30 m/min |
| Eigenschaften | ohne elektr. Abschaltung |
| Artikel-Nr.: | 291569 |
Der Blocstop ist eine Fangvorrichtung, die in Fahrkörben fest verbaut wird. Häufig wird er als zweite Sicherung für die Tirakwinden eingesetzt. Bei Personentransport ist eine zusätzliche Sicherheitseinrichtung gemäß EN 1808 vorgeschrieben. Diese soll den Arbeitskorb oder die Plattform, auf der sich Personen befinden, gegen Absturz sichern.
Die Geschwindigkeit des durchlaufenden Sicherheitsseils wird vom blocstop BSO laufend abgetastet. Die Klemmbacken schließen automatisch bei plötzlich auftretender Übergeschwindigkeit. Eine rotierende Fliehkraft löst den Klemmmechanismus aus, der die Last am Sicherheitsseil abfängt. Die Klemmbacken arbeiten mit Selbstklemmung. Je höher die Zugkraft, desto fester die Klemmwirkung. Die Fangvorrichtung BSO sichert die Last oder das Personenaufnahmemittel gegen Tragseilbruch und Versagen der Winde.
Durch Drücken der NOT-STOP-Taste kann die Fangvorrichtung im Notfall auch von Hand geschlossen werden. Das bietet den Vorteil, eine defekte Winde am hängenden Personenaufnahmemittel auszutauschen. Im Allgemeinen dient diese Taste aber der Freischaltung des BSO.
Das Sichtfenster dient zur Kontrolle der Funktion des Fliehkraftmechanismus während des Betriebs.
Der Blocstop BSO ist auch als zweite Sicherung in Geschossfangkästen zugelassen. Diese ist eine Absturzsicherung, die beim Verlust der Seilfunktion (zum Beispiel Bruch des Seiles oder Defekts an der Transporteinheit) sicherstellt, dass der Absturz des Geschossfanges auch während des Verfahrens ausgeschlossen ist.
|
|
|
|
Optional bei Fangvorrichtungen mit elektrischer Abschaltung: Im Fangfall sorgt der Endschalter dafür, dass der Steuerstrom für die Abwärtsfahrt unterbrochen wird.
Die Fangvorrichtung muss so befestigt sein, dass das Seil von oben senkrecht in die Fangvorrichtung einläuft. Die Fangvorrichtung muss sich frei am Seil ausrichten können. Das Seil muss mit einem Spanngewicht oder einer entsprechenden Aufwickelvorrichtung gespannt sein.
Die notwendige Tragfähigkeit von Aufhängung und Befestigungsbauteil ist abhängig vom Modell der Fangvorrichtung.
Gefahr von schweren Unfällen durch unsachgemäße Befestigung! Hochfeste verzinkte Bolzen und Schrauben können spröde werden und brechen. Absturzgefahr und Verletzungsgefahr durch herabstürzende Gegenstände!
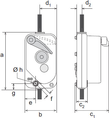
| Maßtabelle in mm BSO 500/510/520 |
|
| a | 214 |
| b | 121 |
| c1 | 131 |
| c2 | 40 |
| d1 | 65 |
| d2 | 20 |
| e | 40 |
| f | 12.5 |
| g | 21.5 |
| Øh | 12.2 |
