Wir verwenden Cookies. Relevante Cookies sind für die Funktionalität der Seite notwendig, wie zum Beispiel für den Warenkorb. Zudem verwenden wir Webanalyse-Tools von Dritten, um die Nutzung der Webseite zu analysieren und die Anzeigenkampagnen zu messen. Hierzu nutzen wir Google Analytics und Google Ads. Das Tracken mit Google Analytics und Google Ads akzeptieren Sie mit einem Klick auf "Einverstanden".(mehr dazu)
Ansonsten klicken Sie bitte auf nur Notwendige

Cookie-Entscheidung widerrufen
Top
Hebelzug Yellow 750 kg, Hub 1.5 m Ansicht 2
Abbildung kann abweichen vom Original

DELTA
Hebelzug Yellow 750 kg, Hub 1.5 m

Tragfähigkeit750 kg
Kettenstrang1
kleinstes Hakenmaß320 mm
Hebelkraft bei Nennlast14 daN
Gewicht ca.5.1 kg
Artikel-Nr.: DEL-DY.0.0540751.5


Qualitätsmerkmale

  • Wartungsfreundliches Design
  • Präzisionsgefertigte Wellen, Kettennuss und Zahnräder
  • Hochfestes Doppelgehäuse
  • Ergonomischer Hebel mit Gummigriff
  • Optimierte Lastkettenführung

102,38 €
%
UVP 127,97
( exkl. MwSt
Versandkostenfrei (innerhalb Deutschlands)
Lieferzeit: z.Zt. ab Lager lieferbar
Zwischenverkauf vorbehalten!
Anzahl

Weitere Modelle mit: Tragfähigkeit 750 kg
EAN/GTIN: 8719482050282

Beschreibung: DELTA Hebelzug Yellow 750 kg, Hub 1.5 m

Abmessungen


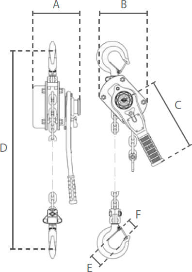
Maßskizze Delta Hebelzug YELLOW 750 kg
Hebelzug YELLOW 0.75
A Gesamtbreite 148 mm
B Breite 135 mm
C Hebellänge 290 mm
D min. Hakenmaß 320 mm
E Hakengrund 37 mm
F Hakenöffnung 26 mm


Top Qualität Schneller Service Kompetente Beratung
© 2024 TOMANRO. Alle Rechte vorbehalten.
TOMANRO GmbH Logo klein