
Tragkraft 1000 - 5000 kg
Tragkraft 1000 - 5000 kg
Die REMA Ladegabel RPHA ist die ideale Lösung für das sichere und effiziente Heben und Transportieren von palettierten Lasten mithilfe eines Krans. Dank ihrer robusten Bauweise, der Höhenverstellung sowie dem automatischen Selbstausgleich bietet diese Ladegabel eine durchdachte Kombination aus Funktionalität und Sicherheit.
Durch die integrierte Gasdruckfeder wird der Schwerpunkt der Last automatisch ausgeglichen – für maximale Arbeitssicherheit.
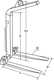
Die Gabelzinken lassen sich individuell an die Last anpassen, wodurch verschiedenste Palettengrößen sicher aufgenommen werden können.
Die REMA RPHA ist in der Höhe flexibel einstellbar – für eine optimale Lastaufnahme und ergonomische Handhabung.
Für schwere Einsätze konzipiert: Je nach Modell können Lasten zwischen 1000 und 5000 kg sicher transportiert werden.
| Eigenschaft | Details |
|---|---|
| Tragkraft | 1000 – 5000 kg (modellabhängig) |
| Verstellzinken | Ja |
| Höhenverstellung | Ja |
| Selbstausgleich | Automatisch durch Gasdruckfeder |
| Mindestbelastung | 20–25 % der Nenntraglast |
| Lastschwerpunkt | 500 mm vom Holm / halbe Zinkenlänge |
Die Ladegabel verfügt über eine beweglich gelagerte Aufhängeöse, die über einen stabilen Fahrschemel geführt wird. Sobald die Ladegabel belastet wird, aktiviert sich die Gasdruckfeder, die dafür sorgt, dass sich der Aufhängepunkt automatisch in den Schwerpunkt der Ladegabel verlagert. Dadurch bleibt die Last stets horizontal und sicher aufgehängt – ein unbeabsichtigtes Kippen oder Verrutschen wird verhindert.
Achten Sie darauf, dass die aufgenommene Last nicht die Zinkenlänge überragt und die Mindestlast von 25 % eingehalten wird – nur so kann der Selbstausgleich sicher funktionieren.
Mit der REMA Ladegabel RPHA erhalten Sie ein leistungsstarkes Lastaufnahmemittel mit automatischem Selbstausgleich, das speziell für breite Sonderpaletten entwickelt wurde. Ob auf Baustellen, in Fertigungshallen oder beim Materialumschlag – diese Krangabel überzeugt durch Sicherheit, Flexibilität und Bedienkomfort.
