Unter der DIN 561 findet man Sechskantschrauben mit Rille oder Auslauf, Zapfen, kleinem Außensechskant und Vollgewinde. Die Form A hat eine Rille zwischen Gewinde und Kopf, die Form B einen Auslauf. Der stumpfe Zapfen erleichtert das Einschrauben in vorgefertigte Gewindebohrungen. Die Schrauben nach DIN 561 haben einen deutlich kleineren Sechskantkopf als Schrauben gleichen Durchmessers anderer Normen.
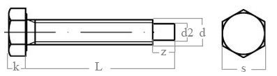
Schraubengrößen:
| Schrauben-durchmesser d (mm) | Schlüssel-weite s (mm) | Kopf-dicke k (mm) | Zapfen-durchmesser d2 (mm) | Zapfen-länge z (mm) |
| M 6 | 8 | 5 | 4 | 3 |
| M 8 | 10 | 6 | 5,5 | 4 |
| M 10 | 13 | 7 | 7 | 5 |
| M 12 | 17 | 9 | 8,5 | 6 |
| M 16 | 19 | 11 | 12 | 8 |
| M 20 | 24 | 14 | 15 | 10 |
Die Sechskantschraube DIN 561 ist eine beliebte Art von Schraube, die oft in verschiedenen Anwendungen verwendet wird. Diese Schraube hat einige wichtige Merkmale, die sie von anderen Schrauben unterscheiden.
Eine der wichtigsten Merkmale der Sechskantschraube DIN 561 ist ihre Form. Es gibt zwei verschiedene Formen, die als Form A und Form B bekannt sind. Form A hat eine Rille auf der Oberseite, während Form B einen Auslauf hat. Diese beiden Formen sind für unterschiedliche Zwecke geeignet und werden entsprechend ausgewählt.
Ein weiteres wichtiges Merkmal der Sechskantschraube DIN 561 ist der Zapfen auf der Unterseite. Dieser Zapfen ist wichtig, da er die Schraube beim Eindrehen in das Material hält und ein Verrutschen verhindert. Der Zapfen kann je nach Anwendung unterschiedliche Größen und Formen haben.
Ein weiteres Merkmal ist der kleine Sechskant auf der Oberseite der Schraube. Dieser Sechskant ermöglicht ein einfaches Anziehen und Lösen der Schraube mit einem passenden Werkzeug. Der kleine Sechskant ist auch wichtig, um ein Verdrehen der Schraube zu verhindern.
Das Gewinde der Sechskantschraube DIN 561 erstreckt sich bis zum Kopf. Dies ist wichtig, um eine maximale Festigkeit und Zuverlässigkeit zu gewährleisten. Das Gewinde ermöglicht es auch, dass die Schraube fest im Material verankert ist und nicht leicht herausgezogen werden kann.
Die Schrauben DIN 561 bieten wir in zwei Ausführungen an. Sie unterscheiden sich von dem Werkstoff und der Oberfläche.
Die Sechskantschrauben DIN 561 sind in zwei verschiedenen Oberflächen erhältlich: unveredelt und galvanisch verzinkt. Unveredelte Schrauben haben keine zusätzliche Oberflächenbehandlung und sind daher anfälliger für Korrosion. Galvanisch verzinkte Schrauben hingegen haben eine dünne Zinkschicht auf der Oberfläche, die sie vor Korrosion schützt und die Lebensdauer der Schraube verlängert.
Bei TOMANRO kaufen Sie Sechskantschrauben DIN 561 in Form A und Form B einfach und direkt online.
