Wir verwenden Cookies. Relevante Cookies sind für die Funktionalität der Seite notwendig, wie zum Beispiel für den Warenkorb. Zudem verwenden wir Webanalyse-Tools von Dritten, um die Nutzung der Webseite zu analysieren und die Anzeigenkampagnen zu messen. Hierzu nutzen wir Google Analytics und Google Ads. Das Tracken mit Google Analytics und Google Ads akzeptieren Sie mit einem Klick auf "Einverstanden".(mehr dazu)
Ansonsten klicken Sie bitte auf nur Notwendige

Cookie-Entscheidung widerrufen
Top
Ringflex Einzelanschlagring Ansicht 2
Abbildung kann abweichen vom Original

Tractel
Ringflex Einzelanschlagring

UntergrundAnkerplatte
WerkstoffEdelstahl, blank
Personenanzahl1
NormEN 795-A, CEN/TS 16415
Voraussetzung/UntergrundBlechdicke min. 0.3 mm
BefestigungsmittelBolzen M12, Sicherungsmutter
Befestigungsart Aufschrauben
Gewicht ca.0.15 kg
Artikel-Nr.: 193858


33,30 €
( exkl. MwSt
zzgl. Versandkosten
Lieferzeit: z.Zt. ab Lager lieferbar
Zwischenverkauf vorbehalten!
Anzahl

EAN/GTIN: 3600231938584

Beschreibung: Tractel Ringflex Einzelanschlagring

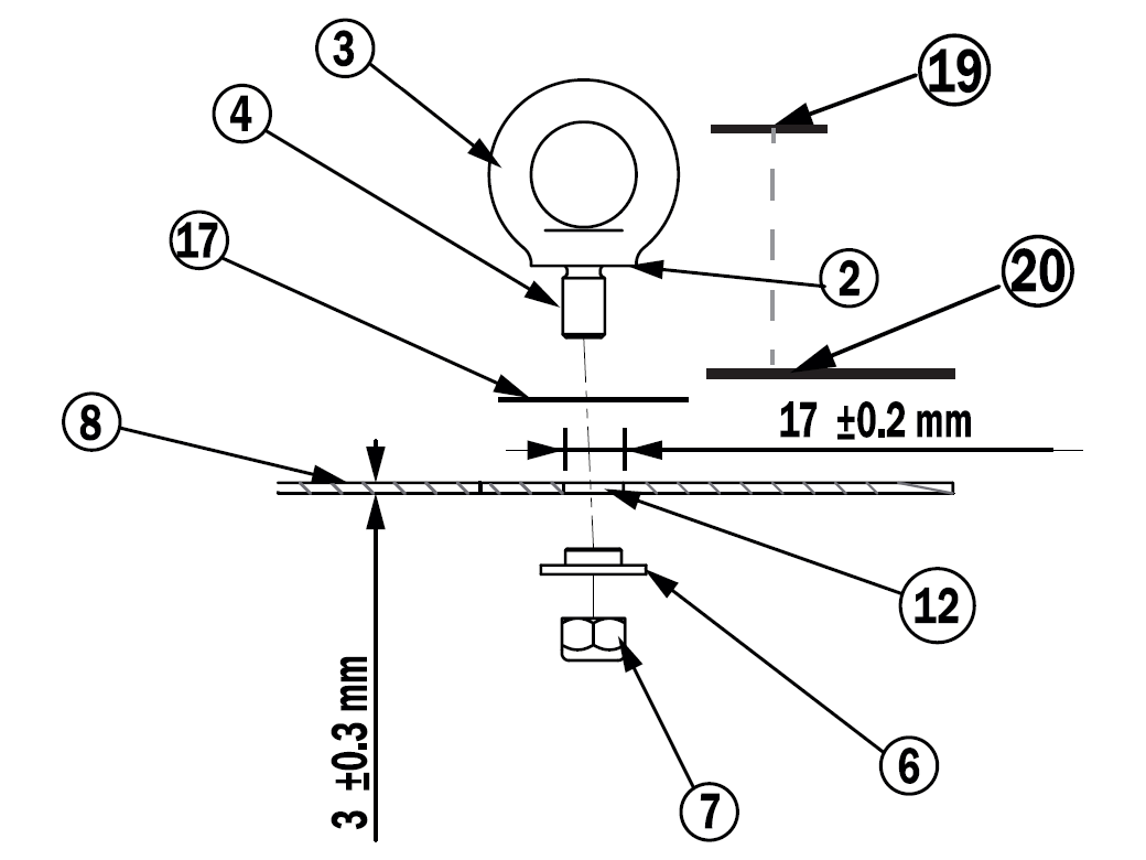
Muss an einer Tragstruktur vom Typ „Platte aus Edelstahl oder verzinktem Stahl“ (Pos. 8) mit einer Stärke von 3 +/- 0,3 mm und einer 17er Bohrung +/- 0,2 mm mit einer Mutter und einer Spezialunterlegscheibe (Pos 6, 7) installiert werden, die im Lieferumfang der Anschlageinrichtung enthalten sind.

Montagehinweise

Bei der Installation einer Anschlageinrichtung von Tractel® vom Typ Travflex™ ringflex:

  1. Die Plattenoberfläche (Pos. 8) um das Befestigungsloch (Pos. 12) herum reinigen.
  2. Das Hinweisschild (Pos. 17) auf der Platte und zentriert auf das Befestigungsloch (Pos. 12) aufkleben.
  3. Die Achse des Befestigungsgewindes M12 (Pos. 4) der Anschlageinrichtung sowie die Mutter und die Reduzierhülse (Pos. 6, 7) mit dem Loch der Platte (Pos. 12) ausrichten.
  4. Einen 19er Flachschlüssel in die Öse der Anschlageinrichtung stecken. Mit einem zweiten 19er Flachschlüssel die Mutter M12 (Pos. 7) anziehen und hierbei darauf achten, dass die Reduzierhülse mit dem Loch (Durchmesser 17 mm) der Platte (Pos. 12) ausgerichtet ist.
  5. Den 19er Flachschlüssel in der Öse der Anschlageinrichtung(Abb. 1, Pos. 1) mit einem Drehmomentschlüssel und einer 19er Nuss halten und die Mutter M12 (Pos. 7) mit dem oben aufgeführten Drehmoment anziehen.
  6. Es muss geprüft werden, dass die Anschlageinrichtung vom Typ Travflex™ringflex sich frei um ihre Achse drehen kann.
  7. Das Hinweisschild (Pos. 20) auf der Platte (Pos. 8) so nahe wie möglich am Anschlagspunkt aufkleben.
  8. Den Monat und das Jahr der ersten regelmäßigen Prüfung auf dem Hinweisschild des Datums der nächsten regelmäßigen Prüfung (Pos. 19) mit einem unlöschbaren Filzstift oder per Prägstift eintragen und auf der Position ‚aa‘ des Hinweisschildes (Pos. 20) platzieren.
  9. Mit einem unlöschbaren Filzstift das Datum der ersten Inbetriebnahme in das Fels ‚ae‘ des Hinweisschildes eintragen und mit einem unlöschbaren Filzstift im entsprechenden Bereich unterschreiben.

WICHTIG: Der Zeitraum zwischen dem Datum der ersten regelmäßigen Prüfung und dem Datum der ersten Inbetriebnahme darf nicht 12 Monate nicht überschreiten.




Top Qualität Schneller Service Kompetente Beratung
© 2024 TOMANRO. Alle Rechte vorbehalten.
TOMANRO GmbH Logo klein