Wir verwenden Cookies. Relevante Cookies sind für die Funktionalität der Seite notwendig, wie zum Beispiel für den Warenkorb. Zudem verwenden wir Webanalyse-Tools von Dritten, um die Nutzung der Webseite zu analysieren und die Anzeigenkampagnen zu messen. Hierzu nutzen wir Google Analytics und Google Ads. Das Tracken mit Google Analytics und Google Ads akzeptieren Sie mit einem Klick auf "Einverstanden".(mehr dazu)
Ansonsten klicken Sie bitte auf nur Notwendige

Cookie-Entscheidung widerrufen
Top
Stahlwinde kurze Bauform STW-FvB 15 SIKU Ansicht 2
Abbildung kann abweichen vom Original

PFAFF
Stahlwinde kurze Bauform STW-FvB 15 SIKU

Tragfähigkeit auf Kopf1500 kg
Bauhöhe600 mm
Hubhöhe300 mm
Klauenhöhe in tiefster Stellung60 mm
Tragfähigkeit auf Klaue1500 kg
Gewicht ca.11 kg
Artikel-Nr.: YALE-30014000


Qualitätsmerkmale

  • Robuste Stahlausführung mit Zahnstange aus Vollmaterial
  • Geringer Verschleiß durch gehärtete Getriebeteile
  • Stirnradgetriebe mit gutem Wirkungsgrad
  • Lastaufnahme auf der Klaue oder dem Kopf
  • Robuste Bodenplatte für hohe Standsicherheit

494,10 €
%
UVP 549,00
( exkl. MwSt
Versandkostenfrei (innerhalb Deutschlands)
Lieferzeit: ca. 1 Woche
Zwischenverkauf vorbehalten!
Anzahl

Weitere Modelle mit: Tragfähigkeit auf Kopf 1500 kg
EAN/GTIN: 4050939055363

Beschreibung: PFAFF Stahlwinde kurze Bauform STW-FvB 15 SIKU

Gerade dort wo niedrige Bauhöhen gefordert sind kommt die Stahlwinde in verkürzter Bauform zum Einsatz.

Abmessungen

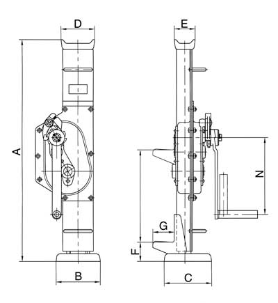
Masszeichnung von PFAFF Stahlwinde kurze Bauform STW-FvB 15 SIKU
Stahlwinde kurze Bauform STW-FvB 1500 kg
A600mm
B130mm
C140mm
D90mm
E50mm
F60mm
G60mm
N200mm


Top Qualität Schneller Service Kompetente Beratung
© 2024 TOMANRO. Alle Rechte vorbehalten.
TOMANRO GmbH Logo klein